1 Важные указания
Настоящее руководство по эксплуатации (далее – РЭ) предназначено для лиц, работающих с детектором масс-спектрометрическим (масс-селективным) 214.2.840.083 (далее – МСД) исполнение 1, 2, 3 и 4, а также для обслуживающего его персонала. РЭ служит для ознакомления с устройством МСД и его составных частей, содержит подробные инструкции по работе, обслуживанию и выявлению неисправностей для обеспечения правильной эксплуатации МСД и поддержания его в постоянной готовности к работе.
Общие меры безопасности при работе с МСД приведены в 4.1.1 и 4.1.2.
Сведения об устройстве и принципе работы МСД ориентированы на специалистов, знакомых с основами газовой хроматографии, хромато-масс-спектрометрии и с принципами построения газохроматографических приборов и масс-спектрометров.
В соответствующих разделах РЭ приведены указания, которые необходимо выполнять при эксплуатации и обслуживании МСД.
Указания, отмеченные такой рамкой, необходимо выполнять, чтобы исключить получение травм при работе с хроматографом или повреждение оборудования.

Данный символ предупреждает об опасности ожога. Он наносится на верхнюю крышку хроматографа (предупреждает о горячих поверхностях испарителей и детекторов) и на заднюю стенку хроматографа с текстом: "Горячий воздух" (предупреждает об опасности ожога при циклах нагрева и охлаждения термостата).

Данный символ предупреждает об опасности взрыва при использовании водорода.
Изделия СКБ Хроматэк могут содержать непринципиально модернизированные части в соответствии с новыми разработками или могут быть подвергнуты несущественным непринципиальным доработкам, не влияющим на технические характеристики и требования безопасности, не отраженным в настоящем документе.
В документе используются следующие сокращения:
| ГХ | газовый хроматограф; |
|---|---|
| МСД | масс-спектрометрический (масс-селективный) детектор; |
| ПК | персональный компьютер; |
| ПО | программное обеспечение; |
| РЭ | руководство по эксплуатации; |
| СКО | среднее квадратическое отклонение; |
| ЭИ | электронная ионизация (электронный удар); |
| ХИ | химическая ионизация; |
| ХИ(+) | химическая ионизация, положительные ионы; |
| ХИ(-) | химическая ионизация, отрицательные ионы; |
| m/z | отношение массы к заряду, безразмерная величина. |
2 Описание и работа МСД
2.1 Назначение МСД
МСД предназначен для обнаружения и определения (идентификации) веществ и соединений, входящих в состав медицинской, пищевой, сельскохозяйственной и других видов продукции, лекарственных, психотропных и наркотических средств, биологических систем, контроля экологической обстановки.
Область применения – химический и структурный анализ веществ и соединений в органической химии, медицине, судебно-медицинской экспертизе, криминалистике, токсикологии, при производстве и контроле качества различных видов пищевой, парфюмерной, фармацевтической, промышленной и сельскохозяйственной продукции, при наркотическом и экологическом контроле, а также в учебных, научно-исследовательских учреждениях и центрах санэпиднадзора Министерства Здравоохранения РФ.

1 – светодиодный индикатор передней панели; 2 – переходная линия; 3 – шланг для подключения форвакуумного насоса
Рисунок 2.1 – Внешний вид МСД
МСД предназначен для работы:
в составе комплекса аппаратно-программного для медицинских исследований на базе хроматографа "Хроматэк – Кристалл 5000";
в составе хроматографа "Хроматэк – Кристалл 9000";
с другими хроматографами;
в качестве самостоятельного устройства.
МСД может быть укомплектован устройством прямого ввода.
По климатическому исполнению МСД относится к исполнению УХЛ категории 4.2 по
ГОСТ 15150:
температура окружающего воздуха от 10 до 35 °С;
верхнее значение относительной влажности окружающего воздуха 80 % при температуре 25 °С и более низких температурах без конденсации влаги;
содержание примесей в окружающем воздухе в пределах санитарных норм, регламентированных ГОСТ 12.1.005.
Электрическое питание МСД осуществляется от сети переменного тока напряжением
(\(220_{- 22}^{+ 22}\)) В, частотой (50±1) Гц.
2.2 Технические характеристики
Таблица 2.1 – Технические характеристики МСД
| Параметр | Номинальное значение |
|---|---|
| Диапазон регистрируемых масс | от 1 до 1200 а.е.м. включ. |
| Разрешающая способность (разрешение) | Единичная во всем диапазоне масс |
| 0.5 – 2 а.е.м. – регулируемая при ручной настройке | |
| Изменение шкалы масс (стабильность), не более | ± 0.1 а.е.м за 48 часов |
| Тип ионизации | электронная (ЭИ), |
| химическая (ХИ) (по заказу) | |
| Энергия ионизации | Регулируемая |
| от 0 до 170 эВ включ., | |
| от 0 до 241,5 эВ включ. (по заказу) | |
| Ток эмиссии | от 0 до 500 мкА включ. |
| Диапазон рабочих температур источника ионов |
от 100 до 350 °С включ., с дискретностью установки 1°С |
|
Диапазон рабочих температур переходной линии (интерфейса газового хроматографа) |
от 100 до 400 °С включ., с дискретностью установки 1°С |
| Максимальная скорость сканирования, не менее | 20000 а.е.м/с |
| Количество скоростей сканирования | Неограниченно |
| Режимы сканирования | Полное (Full-Scan) |
| Сегментное | |
| Сканирование по выбранным ионам (SIM) | |
| Комбинированное (одновременное Full-Scan/SIM) | |
| Синхронизированное (t-SIM) | |
| Длительность сканирования отдельного иона (режим SIM) | от 0.00005 до 300 включ. с |
| Отношение сигнал/шум (чувствительность) в режиме ЭИ (электронного удара) при вводе 1 мкл раствора октафторнафталина в изооктане с концентрацией 1пг/мкл, при сканировании от 50 до 300 а.е.м. по m/z=272, не менее | 2500:1 |
| Отношение сигнал/шум (чувствительность) в режиме ЭИ (электронного удара) при вводе 1,0·10-3 см3 раствора гексахлорбензола в изооктане с концентрацией 1,0·10-5 мг/см3, при сканировании от 50 до 300 а.е.м. по m/z=284 или m/z=286, не менее | 1500:1 |
| Отношение сигнал/шум (чувствительность) в режиме химической ионизации, положительные ионы, при вводе 1 мкл раствора бензофенона в изооктане с концентрацией 100 пг/мкл при сканировании от 80 до 230 а.е.м по m/z=183, не менее | 800:1 |
| Отношение сигнал/шум (чувствительность) в режиме химической ионизации, отрицательные ионы, при вводе 2 мкл раствора октафторнафталина в изооктане с концентрацией 100 фг/мкл при сканировании от 50 до 300 а.е.м по m/z=272, не менее | 2000:1 |
| Инструментальный предел детектирования (обнаружения) – IDL (минимально детектируемое количество октафторнафталина в режиме SIM при 8 последовательно введенных пробах), не более | 10 фг |
| Относительное среднее квадратическое отклонение, (СКО) выходного сигнала (площадь пика), не более | 4% (ввод автоматическим дозатором) |
| 5% (ручной ввод) | |
| Относительное среднее квадратическое отклонение, (СКО) выходного сигнала (время удерживания), не более | 0,4 % (ввод автоматическим дозатором) 2% (ручной ввод) |
| Изменение выходного сигнала (площадь пика и время удерживания) за 8 часов непрерывной работы при фиксированной концентрации вводимого контрольного вещества должно находиться в пределах: | ±5% |
| Количество катодов (филаментов) с переключением из программы управления | 2 |
| Время выхода на режим с турбомолекулярным насосом, не более с диффузионным насосом, не более |
5 ч 6 ч |
| Максимальная потребляемая мощность, не более | 900 Вт |
| В режиме ожидания (экологичный режим), не более | 350 Вт |
| Интерфейс подключения к ПК | Ethernet |
| Турбомолекулярный насос, скорость откачки (производительность) по азоту | 240 л/с |
| 86 л/с (по заказу) | |
| 300 л/с (по заказу) | |
| 365 л/с (по заказу) | |
| другие (по заказу) | |
| Диффузионный насос, производительность по азоту | 65 л/с (по заказу) |
| Форвакуумный насос | двухступенчатый пластинчато-роторный |
| Вакуумный шлюз с зондом | по заказу |
| Устройство прямого ввода МСД | по заказу |
| Устройство герметизации МСД | по заказу |
| Устройство сканирования по энергии электронов | по заказу |
| Источник бесперебойного питания | по заказу |
| Масса (с химической ионизацией и устройством прямого ввода, без форвакуумного насоса), не более: | 48 кг |
| 40 кг (по заказу) | |
| Габаритные размеры (ширина, глубина, высота), не более, мм: |
350, 650, 470 |
| Программное обеспечение | |
| Автоматическая и ручная настройка | во всех режимах ионизации |
| Количество групп (каналов) сканирования и количество ионов в каждой группе (канале) | неограниченно |
| Максимальная частота обработки данных | 240 Гц |
| Библиотеки масс спектров | |
| Встроенная библиотека ионов, рекомендуемых для выбора при построении SIM-метода, включающая 510 веществ | наличие |
| NIST 2020: 350 643 спектров для 306 869 соединений | по заказу |
| Wiley Registry of Mass Spectral Data, 12th Edition, 2020 г. (817 290 спектров, 785 061 химических структур и 668 452 уникальных соединений) | по заказу |
| Другие библиотеки масс-спектров в т.ч. от издательского дома Wiley | по заказу |
| Примечания | |
| По заказу может быть поставлен масляный или безмасляный форвакуумный насос производительностью от 2.3 до 11.4 м3/ч. | |
| Технические характеристики форвакуумного насоса приведены в документации на насос из комплекта поставки. | |
| Форвакуумный насос имеет комплект монтажных частей (установочных деталей) для подключения к МСД. | |
2.3 Комплектность
Комплект поставки определяется заказом потребителя и приведен в паспорте на детектор.
Совместно с МСД поставляются хроматограммы и масс-спектрограммы, полученные при его первичной поверке.
2.4 Устройство и принцип работы

Рисунок 2.2 – Схема устройства МСД
МСД состоит из следующих основных частей:
источник ионов;
квадрупольный масс-анализатор;
система детектирования;
модуль калибровки;
модуль химической ионизации (далее – ХИ) (исполнения 2, 4);
устройство прямого ввода (по заказу);
форвакуумный насос;
высоковакуумный (турбомолекулярный или диффузионный) насос;
электроника;
и систем:
вакуумная система;
газовая система.
Источник ионов, квадрупольный масс-анализатор и система детектирования размещены в вакуумном блоке и работают в условиях глубокого вакуума, который создает вакуумная система, включающая в себя высоковакуумный (турбомолекулярный или диффузионный), форвакуумный насосы и датчики вакуума.
Модуль калибровки, модуль ХИ образуют газовую систему МСД и обеспечивают настройку и работу МСД в режимах ЭИ и ХИ (Рисунок ).
Принцип работы МСД заключается в следующем.
После разделения компонентов смеси в колонке хроматографа, они с выхода колонки поступают в источник ионов. Элюируемые из колонки нейтральные молекулы анализируемых компонентов ионизируются в источнике ионов, и образовавшиеся ионы под действием ускоряющего напряжения, приложенного к линзам источника ионов и квадруполя, переносятся в квадрупольный масс-анализатор.
В каждый момент из заданного интервала времени в квадрупольном масс-анализаторе создаются условия для пролета в систему детектирования ионов только определенной массы, а в течение заданного интервала – только ионов определенного диапазона масс. Система детектирования регистрирует сигналы от прилетевших ионов, и таким образом получается спектр сигналов (масс) заданного диапазона (масс-спектрограмма). Спектр полученных сигналов передается на компьютер, обрабатывается и, при необходимости, сравнивается со спектрами из базы данных. По результатам сравнения оператору выдается информация о полученном спектре и спектрах из базы данных, наиболее близких к нему.

Рисунок 2.3 – Диаграмма сканирования
2.5 Основные параметры МСД
Разрешение (разрешающая способность) характеризует способность МСД разделять ионы с соседними массами, то есть определять точную массу иона. Для квадрупольных МСД ширина пика на его полувысоте меньшая 0,7 а.е.м является хорошим показателем и означает, что такой МСД способен различить номинальные массы, отличающиеся менее чем на единицу на всем его рабочем диапазоне.
Чувствительность – это величина, показывающая какое количество вещества, нужно ввести в масс-спектрометр для того, чтобы его можно было детектировать.
Инструментальный предел обнаружения (Instrument Detection Limit, IDL) – это такое количество вещества, которое в серии из 8 последовательных анализов вызывает сигнал, среднее значение площади которого превышает уровень нуля на величину в 3,499 большую, чем стандартное отклонение этого сигнала.
Динамический диапазон. При анализе смеси, содержащей 99.99 % одного соединения или какого-либо элемента и 0.01% какой-либо примеси, нужно быть уверенным, что правильно определяется и то и другое. Для того, чтобы быть уверенным в определении компонентов в этом примере, нужно иметь диапазон линейности в 4 порядка. Современные масс-спектрометры для органического анализа характеризуются динамическим диапазоном в 5-6 порядков, а масс-спектрометры для элементного анализа 9-12 порядков. Динамический диапазон в 10 порядков означает, что примесь в пробе будет видна даже тогда, когда она составляет 10 миллиграмм на 10 тонн.
Скорость сканирования. Для того, чтобы проанализировать все ионы по отношению их массы к заряду, МСД должен сканировать, то есть параметры его поля должны в течение заданного промежутка времени пройти все значения, необходимые для пропускания к детектору всех интересующих ионов. Эта скорость разворачивания поля называется скоростью сканирования и должна быть как можно больше (соответственно, время сканирования должно быть как можно меньше), поскольку масс-спектрометр должен успеть измерить сигнал за короткое время выхода хроматографического пика, которое может составлять несколько секунд. При этом, чем больше масс-спектров за время выхода хроматографического пика будет зарегистрировано, тем точнее будет описан хроматографический пик, тем менее вероятно будет проскочить мимо его максимального значения, а с помощью математической обработки определить является ли он индивидуальным и "доразделить" его с помощью масс-спектрометрии.
3 Описание и принцип работы составных частей
3.1 Вакуумная система
3.1.1 Компоненты вакуумной системы
Основными компонентами вакуумной системы являются (Рисунок ):
вакуумный блок (вакуумная камера);
переходная линия 214.5.868.043;
вакуумный шлюз (по заказу);
высоковакуумный (турбомолекулярный или диффузионный) насос;
форвакуумный насос (масляный или безмасляный по заказу);
датчик форвакуума;
датчик глубокого вакуума (поставляется по заказу).

Рисунок 3.1 – Схема устройства вакуумной системы
3.1.2 Принцип работы вакуумной системы
Компоненты вакуумной системы обеспечивают понижение давления внутри вакуумного блока до менее, чем 10 мкТорр (10-5 мм.рт.ст) и его поддержание.
При включении электропитания включается форвакуумный насос. Как только форвакуумное давление достигает 500 мТорр, включается турбомолекулярный насос. Для диффузионного насоса пороговое форвакуумное давление, при котором происходит его включение, составляет 200 мТорр. С масляным форвакуумным насосом типичное значение форвакуумного давления в режиме ЭИ составляет 30 – 50 мТорр, а в режиме ХИ 60-110 мТорр.
3.1.3 Конструкция вакуумной системы


1 – вакуумный блок; 2 – высоковакуумный насос (турбомолекулярный или диффузионный);
3 – адаптер форвакуумной линии; 4 – датчик глубокого вакуума; 5 – датчик форвакуума
Рисунок 3.2 – Компоненты вакуумной системы (вверху – с турбомолекулярным насосом, внизу – с диффузионным насосом)

1 – источник ионов (показан источник ионов ADVIS), 2 – квадрупольный масс-анализатор, 3 – система детектирования
Рисунок 3.3 – Боковая панель вакуумного блока
Вакуумный блок
Вакуумный блок представляет собой герметичную камеру с открывающейся боковой панелью, позволяющей получить доступ к внутренним компонентам вакуумного блока – источнику ионов, квадрупольному масс-анализатору и системе детектирования. Снизу к блоку крепится высоковакуумный (турбомолекулярный или диффузионный) насос и датчик глубокого вакуума (по заказу). На правой стенке блока закреплена обогреваемая переходная линия, по которой проба из газового хроматографа поступает в вакуумный блок. На передней стенке вакуумного блока установлено прозрачное окно для визуального контроля состояния катода.
Вакуумный шлюз (по заказу);
При заказе вакуумного шлюза с зондом или устройства прямого ввода на передней стенке вакуумного блока крепится вакуумный шлюз. Используя вакуумный шлюз, можно менять ионизационную камеру (источника ионов) без разгерметизации вакуумного блока.
Подробно конструкция вакуумного шлюза описана в документе "Устройство прямого ввода МСД. Руководство по эксплуатации 214.5.880.003РЭ"
Боковая панель вакуумного блока
Боковая панель представляет собой открывающуюся дверцу вакуумного блока, на которой установлены источник ионов, квадрупольный масс-анализатор с предварительным фильтром и система детектирования.
Переходная линия (интерфейс газового хроматографа)
Переходная линия предназначена для обеспечения герметичного по отношению к окружающей среде ввода капиллярной колонки хроматографа в ионный источник МСД и по своей сути представляет собой интерфейс газового хроматографа.
Переходная линия конструктивно выполнена в виде герметичного цилиндра, одна сторона которого через уплотнительное кольцо герметично закрепляется на вакуумном блоке, а другая – имеет узел для герметичного уплотнения выходного участка капиллярной колонки хроматографа.
Чтобы обеспечить температурное сопряжение термостата колонок хроматографа и источника ионов МСД и исключить концентрирование элюируемых соединений на выходном участке колонки переходная линия имеет независимый термостат (зону нагрева), который поддерживает постоянную повышенную температуру внутри переходной линии.
Температура термостата переходной линии задается оператором и поддерживается на заданном уровне. Управление температурой осуществляется из программы "Хроматэк МСД-настройка" или из программы "Панель управления" при задании параметров режима МСД. Как правило, диапазон рабочих температур переходной линии устанавливается в пределах от 200 до 300 °С.
Форвакуумный насос
МСД может по заказу комплектоваться двухстадийными форвакуумными насосами следующих типов:
пластинчато-роторный (масляный);
спиральный (безмасляный);
диафрагменный (безмасляный).
Форвакуумный насос подсоединяется к выходу высоковакуумного (турбомолекулярного или диффузионного) насоса через армированный шланг внутренним диаметром 19 мм с использованием деталей из комплекта монтажных частей насоса. На выходе масляного насоса устанавливается фильтр для исключения попадания паров масла в окружающий воздух. Возможна работа насоса без фильтра. В этом случае подключите к выходу насоса трубку, второй конец которой должен быть выведен в вытяжной шкаф или за пределы помещения (на улицу).
Кабель электропитания насоса подключается к розетке ~220 V, 50 Hz, 500 W на задней панели МСД. Форвакуумный насос устанавливается на полу.
Для подробного ознакомления с устройством и работой форвакуумного насоса обратитесь к руководству по эксплуатации на форвакуумный насос, входящему в комплект поставки.
Датчик форвакуума и адаптер форвакуумной линии
Датчик форвакуума устанавливается на адаптере форвакуумной линии (Рисунок ), который соединяет форвакуумную линию с высоковакуумным (турбомолекулярным или диффузионным) насосом. Датчик форвакуума измеряет давление в форвакуумной линии, создаваемое форвакуумным насосом в диапазоне от атмосферного до 10 мТорр. Если давление внутри этой линии становится больше порогового значения (500 мТорр – для турбомолекулярного, 200 мТорр – для диффузионного насоса), то плата управления вакуумом отключает высоковакуумный (турбомолекулярный или диффузионный) насос, чтобы предотвратить его повреждение.
Высоковакуумный насос
Высоковакуумный насос создает глубокий вакуум, необходимый для работы источника ионов, масс-анализатора и системы детектирования. Возможны два варианта высоковакуумного насоса: диффузионный или турбомолекулярный насосы.
Диффузионный насос
Внутри диффузионного насоса находится нагреватель со специальной жидкостью (SANTOVAC 5). С увеличением температуры нагревателя до рабочей (максимум 275 °C), давление паров жидкости возрастает, вследствие чего, пары выталкиваются через сопла внутри насоса. В результате, возникают сверхзвуковые струи паров, направленные к холодным стенкам насоса, где пары конденсируются. Струи паров жидкости захватывают молекулы откачиваемого газа, тем самым, создавая разряжение в откачиваемом объеме вакуумного блока.
Турбомолекулярный насос
Турбомолекулярный насос, в отличие от диффузионного насоса, представляет собой безмасляную систему вакуумирования. Турбомолекулярный насос имеет многоступенчатую осевую турбину, в которой вращающиеся с высокой скоростью лопатки создают сжатие, обеспечивающее движение молекул газа в направлении откачки. Турбомолекулярный насос оснащен встроенным контроллером, который постоянно следит за его состоянием и температурой. При повышении температуры двигателя насоса выше некоторого порогового значения, контроллер снижает скорость вращения турбины вплоть до ее полной остановки. Как следствие, при этом ухудшается вакуум в вакуумной камере, повышается давление форвакуума и возникает сообщение о потере вакуума (раздел 6.2).
МСД может быть оснащен турбомолекулярными насосами с различной производительностью (скоростью откачки). В условиях больших газовых потоков, поступающих в вакуумный блок из колонки (более 1,5 мл/мин), и в случае применения ХИ должен использоваться насос с производительностью не менее 240 л/с.
Техническое обслуживание турбомолекулярного насоса описано в разделе 5.13.
По заказу потребителя возможна установка специального узла для образования дифференциальной системы вакуумирования с отдельными каналами откачки для источника ионов и для масс-анализатора.
Датчик глубокого вакуума
Датчик глубокого вакуума устанавливается снизу вакуумного блока и измеряет давление внутри блока в диапазоне от 1 мТорр до 1 мкТорр. Его принцип работы основан на измерении количества молекул остаточного газа, присутствующего в блоке. На электроде датчика (нить накаливания) создаются электроны с высокой энергией, ионизирующие молекулы остаточного газа. Положительные ионы, образованные из этих молекул, притягиваются в датчике к коллектору, формируя ток, пропорциональный количеству молекул, а значит и давлению в вакуумном блоке.
Если в МСД установлен датчик глубокого вакуума, то для отображения показаний его необходимо включить в ПО "МСД настройка". После этого датчик глубокого вакуума включается автоматически при достижении давления форвакуума 500 мТорр. Это предохраняет его от повреждения, так как при более высоком давлении нить, испускающая электроны, может перегореть.
3.2 Газовая система
3.2.1 Компоненты газовой системы
Основными компонентами газовой системы являются (Рисунок ):
модуль калибровочного газа;
модуль газа-реагента для ХИ (по заказу);
вентиль напуска атмосферного воздуха в вакуумный блок.

Рисунок 3.4 – Схема газовой системы
На вакуумном блоке установлена переходная линия, в которую вставляется участок капиллярной колонки хроматографа длиной около 20 см. Также через переходную линию в МСД поступает калибровочный газ и газ-реагент (в случае использования ХИ). Кроме того, на вакуумном блоке имеется вентиль напуска воздуха для приведения вакуумного блока к атмосферному давлению (при перерывах в работе или техническом обслуживании).
Управление потоками различных газов, поступающих в вакуумный блок, осуществляется с помощью программного обеспечения, за исключением вентиля напуска, который откручивается вручную.

1 – модуль калибровочного газа; 2 – вентиль напуска атмосферного воздуха; 3 – модуль газа-реагента для химической ионизации; 4 – переходная линия; 5 – вакуумный блок
Рисунок 3.5 – Расположение компонентов газовой системы
3.2.2 Модуль калибровочного газа 214.5.081.069
Модуль калибровочного газа управляет потоком калибровочного газа, поступающего в источник ионов, и устанавливается на внешней верхней стенке вакуумного блока. Калибровочный газ имеет основной спектр в достаточно широком диапазоне масс (69-614) а.е.м. и поэтому используется при настройке и калибровке МСД. Модуль может создавать два различных потока калибровочного газа. Малый поток используется при настройке в режимах ЭИ и ХИ(-). Большой поток, используется для ХИ(+). Калибровочный газ образуется при испарении калибровочной жидкости. На МСД в качестве калибровочной жидкости используется Перфтортрибутиламин (другие названия – PFTBA, FC 43). Модуль заправляется на заводе-изготовителе перфтортрибутиламином в объеме 0,25 мл, и этого количества достаточно для работы в течение нескольких лет (в зависимости от частоты проведения настройки).
3.2.3 Модуль газа-реагента для ХИ 214.5.081.064
Модуль газа-реагента для ХИ управляет потоком газа-реагента для ХИ, поступающим в источник ионов, и устанавливается на верхней стенке вакуумного блока за модулем калибровочного газа. Поток задается регулятором расхода при помощи программного обеспечения. Максимальный расход газа-реагента при ХИ не более:
для метана – 4,7 мл/мин;
для углекислого газа – 3,0 мл/мин;
для изобутана – 3,0 мл/мин.
Минимальный задаваемый расход газа-реагента любого типа – 0,3 мл/мин.
3.2.4 Вентиль напуска атмосферного воздуха
Вентиль напуска атмосферного воздуха предназначен для приведения вакуумного блока к атмосферному давлению после выключения МСД при длительных перерывах в работе или техническом обслуживании. Он установлен на передней стенке вакуумного блока.
Перед включением МСД вентиль следует плотно закрутить рукой, чтобы исключить попадание атмосферного воздуха в вакуумный блок во время работы. После отключения питания МСД вентиль нужно выкрутить рукой на полтора – два оборота, для заполнения вакуумного блока воздухом. При этом будет слышен характерный тихий свист напускаемого воздуха.
При кратковременном (до нескольких часов) выключении МСД без проведения технического обслуживания компонентов внутри вакуумного блока напуск воздуха в вакуумный блок можно не выполнять (для более быстрой последующей откачки МСД). В остальных случаях вакуумный блок следует заполнить воздухом.
3.3 Источник ионов
3.3.1 Состав и принцип действия
Источник ионов размещен внутри вакуумного блока, в его передней части. Элюируемый из колонки хроматографа поток попадает в ионизационную камеру источника ионов. Там нейтральные молекулы ионизируется под действием электронов, испускаемых разогретым катодом. Образовавшиеся ионы под действием электрического поля, создаваемого линзами, вытягиваются из ионизационной камеры и формируются в параллельный пучок.
Катод представляет собой тонкую проволоку специальной формы из тугоплавкого металла, которая нагревается электрическим током. За счёт термоэлектронной эмиссии нагретая проволока испускает электроны. Свечение включенного катода можно контролировать визуально через смотровое стекло вакуумного блока.
Два магнита, расположенные выше и ниже источника ионов, образуют магнитное поле. Под действием магнитного поля осуществляется коллимация электронного пучка, и электроны движутся по спирали, таким образом, увеличивая длину траектории движения с целью увеличения эффективности ионизации нейтральных молекул.
Электроны, испускаемые катодом в ионизационную камеру, ускоряются под действием электрического поля между катодом и ионизационной камерой. Катод поддерживается при отрицательном потенциале относительно ионизационной камеры, величина потенциала регулируется, но обычно равна минус 70 В, что соответствует энергии электронов 70 эВ.
Линзы входной ионной оптики вытягивают из ионизационной камеры образующиеся в ней ионы и фокусируют их в параллельный пучок на входе в масс-анализатор
Чтобы предотвратить конденсацию на поверхностях деталей источника ионов растворителей и других веществ, элюируемых из колонки, а также для получения стабильных характеристик, на ионизационной камере и линзах ионной оптики поддерживается постоянная повышенная температура.
Управление температурой ионизационной камеры и линз ионной оптики осуществляется из программы "Хроматэк МСД-Настройка" или из программы "Панель управления" при задании параметров режима МСД. Как правило, диапазон рабочих температур задается в диапазоне от 200 до 300 °С.
В источнике ионов используются заменяемые ионизационные камеры для работы в различных режимах ионизации (ЭИ или ХИ).
Конструкция источника ионов выполнена таким образом, чтобы обеспечить возможность легкого доступа к нему пользователя для проведения обслуживания с переднего фланца или со стороны боковой панели вакуумного блока.
Источник ионов выполнен из инертного материала (без какого-либо покрытия), обеспечивающего минимальное загрязнение и оптимальную работу во всех режимах ионизации.
Выпускается две модификации источника ионов: STD (214.5.315.001) и ADVIS (214.5.315.009).
3.3.2 Компоненты источника ионов STD

1 – держатель магнитов 214.8.126.082; 2 – катод (филамент); 3 – корпус источника ионов;
4 – ионизационная камера; 5 – блок линз; 6 – магнит; 7 – термостат
Рисунок 3.6 – Источник ионов STD 214.5.315.001

1 – термостат 214.8.034.820 с нагревателем 214.5.863.191 и датчиком температуры 214.5.182.044; 2 – катод 214.6.622.054; 3 – линзы 214.5.315.002 (линза 1), 214.5.315.003 (линза 2), 214.5.315.004 (линза 3), 214.5.315.005 (линза 4); 4 – ионизационная камера с крышкой; 5 – корпус источника ионов 214.6.113.264; 6 – керамические шайбы 214.7.854.028 (5 шт.); 7 – керамические трубки 214.7.867.059 (3 шт.)
Рисунок 3.7 – Источник ионов STD в разобранном виде
Катод
Катод (филамент) устанавливается в верхней части корпуса источника ионов и содержит две нити накала (фактически в одном катоде размещены два катода), отражатель, электронную линзу и корпус.

1 – отражатель; 2 – нить накала; 3 – электронная линза
Рисунок 3.8 – Катод источника ионов STD
Электронная линза, установленная между нитью накала и ионизационной камерой улучшает эффективность ионизации, предотвращает попадание ионов на нить накала, тем самым предохраняя её от загрязнения и продлевая срок службы. Электронная линза в центре имеет отверстие, через которое электроны вылетают в ионизационную камеру.
Подключение проводов 4-контактного разъема "Катод" к контактам катода осуществляется в соответствии с нумерацией, нанесенной рядом с разъемом и на катоде.

Рисунок 3.9 – Расположение контактов катода источника ионов STD

Рисунок 3.10 – Расположение контактов разъема Катод источника ионов STD
Корпус
Источник ионов крепится к держателю источника ионов тремя винтами.
Термостат, закрепленный на корпусе, обеспечивает независимый нагрев ионизационной камеры и блока электронных линз (ионной оптики). Контроль температуры осуществляется с помощью датчика температуры, установленного между термостатом и корпусом. Датчик температуры должен плотно прилегать к поверхности корпуса.
Ионизационная камера

1 – Ионизационная камера ЭИ, 2 – Ионизационная камера ХИ
Рисунок 3.11 – Ионизационные камеры для ЭИ (214.7.015.008) и ХИ (214.5.887.048) источника ионов STD
Ионизационная камера состоит из корпуса (рисунок выше) и заглушки 214.8.054.284. Ионизационная камера зафиксирована винтом на корпусе источника ионов. Проба попадает в ионизационную камеру через отверстие для ввода пробы, находящееся сбоку корпуса источника ионов.
Для режимов ЭИ и ХИ требуются разные ионизационные камеры, отличающиеся размером выходного отверстия ионов и отверстия влета электронов.
Блок линз

1 – линза 1; 2 – линза 2; 3 – линза 3; 4 – линза 4
Рисунок 3.12 – Линзы источника ионов STD
Линзы 1, 2, 3, 4 представляют собой диски из инертного сплава, на которые подаются напряжения. Линза 1 является ближней к ионизационной камере.
Электрическое подключение линз осуществляется через штырьковые контакты. Подключение проводов 4-контактного разъема "Линзы" к контактам линз осуществляется в соответствии с нумерацией, нанесенной рядом с разъемом.
3.3.3 Компоненты источника ионов ADVIS
Выпускается два исполнения источника ионов ADVIS:
Нагреваемый инертный источник ионов с инертными металлическими поверхностями, контактирующими с пробой, без специального покрытия.
Нагреваемый инертный керамический источник ионов с инертными металлическими поверхностями, контактирующими с пробой, дополнительно имеющими специальное покрытие, отличающееся радужным цветом поверхности.
Оба исполнения имеют одинаковую конструкцию.

1 – катод (филамент) 214.6.622.062 (2 шт.); 2 – корпус источника ионов; 3 – ионизационная камера с репеллером; 4 – термостат; 5 – винт 214.8.900.181 (2 шт.); 6 – фланец
Рисунок 3.13 – Источник ионов ADVIS 214.5.315.009
Магниты источника ионов ADVIS установлены на правой стенке вакуумного блока

1 – термостат 214.8.035.202 с нагревателем 214.5.863.191 и датчиком температуры 214.5.182.065; 2 – гайка М3; 3 – шайба 3; 4 – шайба 214.7.854.041 (2 шт.); 5 – винт М2;
6 – корпус 214.8.035.203; 7 – репеллер 214.7.301.015; 8 – ионизационная камера; 9 – корпус 214.8.035.201; 10 – трубка 214.7.867.074-01 (2 шт.); 11 – шайба 214.7.854.040 (4 шт.); 12 – линза 214.7.301.016 (линза 1); 13 – линза 214.7.301.017 (линза 2); 14 – линза 214.7.301.018 (линза 3); 15 – волновая шайба; 16 – фланец 214.8.230.197; 17 – винт М3 (2 шт.)
Рисунок 3.14 – Источник ионов ADVIS в разобранном виде
Катод
Катод (филамент) содержит нить накала, отражатель и корпус. Катоды устанавливаются сверху и снизу на корпус источника ионов так, чтобы нить накала находилась между отражателем катода и корпусом источника ионов.

1 – отражатель; 2 – нить накала; 3 – корпус
Рисунок 3.15 – Катод источника ионов ADVIS
Подключение проводов на левой панели вакуумного блока к контактам катода осуществляется в соответствии с обозначениями на левой панели.
Корпус
Источник ионов крепится к держателю источника ионов двумя винтами.
Термостат, закрепленный на корпусе, обеспечивает независимый нагрев ионизационной камеры и блока электронных линз (ионной оптики). Контроль температуры осуществляется с помощью датчика температуры, установленного на термостате. Датчик температуры должен плотно прилегать к поверхности термостата.
Ионизационная камера

1 – Ионизационная камера ЭИ, 2 – Ионизационная камера ХИ
Рисунок 3.16 – Ионизационные камеры для ЭИ (214.7.015.015) и для ХИ (214.7.015.016) источника ионов ADVIS
Ионизационная камера зафиксирована винтом на корпусе источника ионов. Проба попадает в ионизационную камеру через отверстие для ввода пробы, находящееся сбоку корпуса источника ионов.
Для режимов ЭИ и ХИ требуются разные ионизационные камеры, отличающиеся размером выходного отверстия ионов и отверстия влета электронов.
Блок линз

1 – линза 1; 2 – линза 2; 3 – линза 3
Рисунок 3.17 – Линзы источника ионов ADVIS
Линзы 1, 2, 3 представляют собой детали из инертного сплава, на которые подаются напряжения. Линза 1 является ближней к ионизационной камере.
Электрическое подключение линз осуществляется через штырьковые контакты. Подключение проводов 3-контактного разъема "Линзы" к контактам линз осуществляется в соответствии с нумерацией, нанесенной рядом с разъемом.
3.4 Квадрупольный масс-анализатор
3.4.1 Компоненты квадрупольного масс-анализатора
Квадрупольный масс-анализатор является двухстадийным и содержит:
предварительный фильтр (далее – префильтр, прямой – основное исполнение,
S-образный – по заказу);масс-фильтр (масс-спектрометрический квадрупольный фильтр).

1 – стержни предварительного фильтра; 2 – стержни масс-фильтра
Рисунок 3.18 – Общий вид квадрупольного масс-анализатора с прямым префильтром

Рисунок 3.19 – Общий вид квадрупольного масс-анализатора с S-образным префильтром
3.4.2 Предварительный фильтр
Сфокусированные в источнике ионов ионы попадают в квадрупольный радиочастотный предварительный фильтр (далее – префильтр), являющийся частью квадрупольного масс-фильтра. На префильтр подается высокочастотное (радиочастотное) напряжение и управляющее напряжение смещения, величина которого устанавливается по заданию оператора. Он обеспечивает уменьшение шума, улучшение условий входа пучка ионов в масс-фильтр и предохраняет его от загрязнений.
Прямой префильтр (рисунок 3.20) состоит из четырех металлических параллельных, симметрично расположенных относительно общей оси стержней.
Искривленный S-образный префильтр (рисунок 3.21) также состоит из четырех металлических стержней, но его особенность заключается в том, что он направляет заряженные частицы по нелинейной траектории, в то время как нейтральные частицы продолжают движение по прямолинейной траектории. Как следствие, меньшее количество нейтральных частиц попадает в детектирующую систему.
3.4.3 Масс-фильтр
Масс-фильтр представляет собой четыре параллельно и симметрично расположенных проводящих цилиндрических стержня (электрода) из инертного материала, скрепленных между собой двумя керамическими дисками, к которым попарно подаётся определённая комбинация постоянного и высокочастотного напряжения. Данный масс-фильтр не уступает по своим техническим, аналитическим и эксплуатационным характеристикам кварцевым масс-фильтрам со стержнями, имеющими гиперболическую поверхность и многослойное композитное золотое покрытие.
Под действием небольшого ускоряющего напряжения (7 – 15 В), приложенного к стержням, ионы из источника ионов влетают вдоль общей оси стержней и под действием комбинации постоянного и высокочастотного (радиочастотного) поля, создаваемого стержнями, начинают колебаться в поперечном направлении. При этом амплитуда колебаний ионов возрастает без изменения их направления движения. Ионы, чьи амплитуды колебаний достигают высоких значений, нейтрализуются при столкновении со стержнями, а системы детектирования достигнут только те ионы, чьи значения m/z будут отвечать определенному соотношению значений постоянного и высокочастотного напряжений, приложенных к стержням. Путем изменения значений величин постоянного и высокочастотного напряжений во времени в масс-фильтре создаются условия для прохождения к системе детектирования ионов с определенным диапазоном масс. Таким образом, осуществляется сканирование и получается масс-спектр в определенном диапазоне масс.
Масс-фильтр является нагреваемым. Нагрев осуществляется посредством теплового излучения от источника ионов и обеспечивается конструктивными особенностями исполнения.
При техническом обслуживании со стержнями масс-анализатора следует обращаться с повышенной осторожностью, поскольку любые механические и химические воздействия на него могут вывести его из строя. Запрещается разбирать масс-фильтр и чистить его с помощью абразивов.
3.5 Система детектирования
3.3.1 Состав и принцип действия
В состав системы детектирования (детектора) МСД входят:
фильтрующая линза;
конверсионный динод;
(вторичный) электронный умножитель.
Совместно они образуют пространственную трехкоординатную (3D) систему регистрации ионов, обеспечивающую высокую чувствительность детектирования.
Частицы, прошедшие квадрупольный масс-анализатор, проходят сквозь фильтрующую линзу, где нейтральные частицы отсеиваются. Затем ионы отклоняются от прямолинейной траектории, попадают на конверсионный динод и выбивают с его поверхности ионы и электроны. Эти электроны и ионы под действием ускоряющего поля динода попадают на электронный умножитель, где их поток многократно усиливается, затем поступает на электрометрический усилитель и регистрируется в виде спектра масс.
3.5.2 Фильтрующая линза
Атомы гелия и нейтральные атомы других соединений, вылетающие из источника ионов и летящие вдоль оси масс-анализатора, вызывают электронный шум, если они пролетают масс-фильтр и достигают конверсионного динода и (или) электронного умножителя. Это явление известно как нейтральный шум или шум нейтральных частиц. Нейтральные атомы и молекулы задерживаются внутри фильтрующей линзы и откачиваются из нее. Таким образом, они не попадают на динод, в результате шум нейтральных частиц устраняется. Это позволяет улучшить чувствительность МСД и повысить отношение сигнал/шум.
3.5.3 Конверсионный динод
Конверсионный динод представляет собой вогнутую металлическую поверхность, установленную под прямым углом к отклоненному ионному пучку. На конверсионный динод подается потенциал, равный 10 кВ для эффективного детектирования отрицательных ионов или минус 10 кВ для эффективного детектирования положительных ионов.
При соударении иона с поверхностью динода образуется некоторое количество вторичных заряженных частиц: положительные и отрицательные ионы, протоны, электроны и нейтральные частицы. При соударении положительных ионов вторичными частицами являются отрицательные ионы и электроны. При соударении отрицательных ионов вторичными частицами являются положительные ионы и протоны. Вторичные частицы фокусируются вогнутой поверхностью конверсионного динода и ускоряются электрическим полем в направлении электронного умножителя.
3.5.4 Электронный умножитель
Вторичный электронный умножитель с неосевым расположением и расширенным динамическим диапазоном имеет два электрода: протяженный воронкообразный динод с поверхностью, покрытой тонким полупроводниковым окисным слоем, в котором происходит образование вторичных электронов, и анод. Динод используются для лавинообразного генерирования каскада электронов и находится под пространственно распределенным напряжением от плюс (1 … 3) кB до 0 В. Выход динода находится под напряжением, близким к 0. Анод собирает электроны, произведенные поверхностью динода. Он представляет собой чашку, размещенную на выходном конце динода.
Вторичные частицы, вылетающие с поверхности конверсионного динода, попадают на вход динода умножителя с энергией, достаточной для выбивания электронов. Каждая частица выбивает с внутренней поверхности динода умножителя большое количество электронов. Выбитые электроны ускоряются дальше вглубь динода умножителя под воздействием положительного градиента напряжения. Выбитые электроны снова сталкиваются с внутренней поверхностью динода умножителя, выбивая с поверхности еще большее количество электронов, создавая лавину электронов, что, в конце концов, приводит к созданию достаточного тока в конце умножителя, где электроны собираются анодом. Электроны, собранные анодом, создают ток, пропорциональный числу исходных ионов. Этот ток преобразуется в напряжение схемой электрометрического усилителя и регистрируется системой сбора и обработки данных.
Система обработки данных включает в себя цифровое электронное подавление шумов для повышения чувствительности МСД.
4 Использование по назначению
4.1 Подготовка МСД к работе
4.1.1 Общие меры безопасности
Не ознакомившись с указаниями мер безопасности, изложенными в данном подразделе и нижеперечисленных документах, к работе с МСД не приступать.
МСД должен устанавливаться в закрытых лабораторных и других помещениях, передвижных лабораториях, в которых горючие газы и легковоспламеняющиеся жидкости могут быть в количествах, недостаточных для создания взрывопожароопасной смеси. Помещения должны быть оборудованы системой приточно-вытяжной вентиляции.
При работе с МСД должны соблюдаться действующие "Правила устройства электроустановок" (ПУЭ), "Правила эксплуатации электроустановок потребителей" (ПЭЭП), "Межотраслевые правила по охране труда (правила безопасности) при эксплуатации электроустановок" (ПОТ РМ-016-2001), "Правила устройства и безопасной эксплуатации сосудов, работающих под давлением" (ПБ10-115-96).
При монтаже, установке, проверке и обслуживании МСД должны соблюдаться действующие "Правила устройства электроустановок" (ПУЭ), "Правила технической эксплуатации электроустановок потребителей" (ПТЭЭП), "Межотраслевые правила по охране труда (правила безопасности) при эксплуатации электроустановок" (ПОТ РМ-016-2001), "Правила устройства и безопасной эксплуатации сосудов, работающих под давлением" (ПБ10-115-96).
К работам по монтажу, установке, проверке и обслуживанию МСД должны допускаться лица, имеющие квалификацию не ниже второй группы согласно правилам ПТЭЭП и ПОТ РМ-016-2001 и обученные правилам техники безопасности при работе с МСД, а также прошедшие медицинское освидетельствование.
Оператор МСД (лицо, выполняющее хроматографические и масс-спектрометрические анализы) должен иметь опыт работы с хроматографическим, масс-спектрометрическим оборудованием, компьютером, знать правила техники безопасности при работе с МСД и пройти медицинское освидетельствование.
![]() |
МСД должен быть заземлен. Заземление осуществляется с помощью сетевых вилок и клеммы дополнительного заземления, размещенной на задней стенке МСД. Контакты "┴" всех сетевых розеток для подключения МСД должны быть заземлены (соединены с контуром внешнего заземления) с помощью изолированного медного провода сечением не менее 1,5 мм2. |
|---|
Дополнительное заземление используется для тех составных частей, которые имеют клеммы дополнительного заземления (системный блок, монитор и принтер компьютера, допускается дополнительно не заземлять). Заземление осуществляется соединением клемм дополнительного заземления этих частей с контуром заземления (с помощью шин дополнительного заземления из комплектов ЗИП составных частей).
Источниками опасности МСД являются:
токоведущие части, находящиеся под напряжением;
газовые магистрали высокого давления (до 0,64 МПа);
вакуумный блок и вакуумные магистрали, находящиеся под вакуумом;
поверхности источника ионов и переходной линии, имеющие высокую температуру;
газообразный водород и газы-реагенты для химической ионизации (метан, изобутан).
Перед выполнением каждой инструкции или процедуры внимательно прочитайте соответствующее руководство. Обращайте внимание на предупреждения о безопасности, приведенные в данной инструкции и на приборе, чтобы предохранить себя от травм и не допустить повреждения прибора.
4.1.2 Меры безопасности при работе с водородом
Общие сведения о водороде

Водород легковоспламеняющийся газ. Его накопление в закрытом помещении, внутри МСД или ГХ могут вызвать пожар или взрыв.
При использовании водорода в качестве газа-носителя – перед работой всегда проверяйте герметичность всех соединений, линий и клапанов МСД и ГХ. Перед обслуживанием и ремонтом МСД или ГХ всегда отключайте подачу водорода на его источнике.
Водород взрывоопасен, но, помимо этого, он имеет и другие опасные свойства:
Воспламеняется при различных концентрациях. В условиях атмосферного давления водород воспламеняется при концентрации от 4 до 74,2 % по объему при наличии источников искрообразования и открытого пламени;
Имеет самую высокую скорость горения среди газов;
Имеет очень низкую энергию воспламенения;
При быстром переходе от состояния высокого давления к низкому может произойти самовоспламенение водорода;
При горении водорода возникает бесцветное пламя, которое может быть невидимым при ярком внешнем освещении.
Опасности при работе с ГХ и МСД
При использовании водорода существуют следующие опасности.
Возгорание водорода при утечке;
Воспламенение водорода вследствие аварийной разгерметизации баллона высокого давления;
Накопление водорода в термостате ГХ и последующее возгорание;
Накопление водорода в МСД и последующее возгорание.
Накопление водорода в ГХ

Работа с ГХ, использующим водород в качестве газа-носителя, является потенциально опасной.
При использовании водорода в качестве газа-носителя имейте в виду, что водород может накопиться в термостате ГХ и вызвать угрозу взрыва. Поэтому всегда начинайте подачу газа только после того, как будут подключены все компоненты газовой схемы. Исключите все возможные утечки, чтобы избежать накопления водорода.
Накопление водорода в МСД
Причины, которые могут привести к накоплению водорода в МСД, а также действия, которые следует предпринять, приведены в таблице ниже.
Таблица 4.1 – Причины, вызывающие накопление водорода в МСД
| Событие | Действия |
|---|---|
| Выключение МСД | При намеренном или случайном выключении МСД подача газа-носителя не отключается. В результате водород может постепенно накапливаться в МСД. |
| Выключение ГХ | Если поток газа-носителя контролируется ручным регулятором давления, то при намеренном или случайном выключении ГХ водород будет поступать в МСД. Если в этот момент МСД будет также выключен, водород может накопиться в МСД достаточно быстро. |
| Отключение электричества | При отключении электричества ГХ и МСД выключаются. Однако в этом случае подача газа-носителя может продолжаться. В результате этого водород может накопиться в МСД. |

Если в МСД накопился водород, то при его удалении необходимо действовать очень осторожно. Неправильный запуск МСД с вакуумным блоком, наполненным водородом, может вызвать взрыв.
При работе с ГХ-МСД с использованием водорода в качестве газа-носителя соблюдайте нижеперечисленные меры предосторожности.
Общие меры предосторожности при работе в лаборатории
Не допускайте утечек в линиях газа-носителя;
Уменьшите количество возможных источников искрообразования и пламени в лаборатории (открытое пламя, устройства, способные выделять искры, источники статического электричества и т. д.);
Не выпускайте водород из баллона высокого давления непосредственно в атмосферу (существует угроза самовозгорания);
По возможности используйте генератор водорода, а не водород из баллона.
Меры предосторожности при работе с ГХ и МСД
Проверяйте уплотнения колонки, правильность сборки и герметичность газовой схемы до включения подачи водорода;
Запрещается использовать водород для кондиционирования колонок, без подключения к детектору (водород может накапливаться в термостате);
Отключайте подачу водорода на источнике водорода каждый раз при выключении ГХ или МСД (закрыть вентиль баллона и/или отключить генератор водорода);
Отключайте подачу водорода на источнике водорода каждый раз при напуске воздуха МСД (не нагревайте термостат колонок ГХ без газа-носителя);
Всегда закручивайте ручку с накатанной головкой, фиксирующую левую боковую панель вакуумного блока МСД, если вакуумный блок был приведен к атмосферному давлению. Не закручивайте ручку, когда в вакуумном блоке уже присутствует хороший уровень вакуума;
Обязательно закручивайте все винты крепления крышек МСД.
Несоблюдение этих правил значительно повышает риск получения травмы в результате взрыва.
Если при работе ГХ-МСД без участия оператора происходит отключение электроэнергии, выполните следующие действия.
Немедленно отключите подачу водорода на его источнике;
Отключите питание ГХ и МСД;
Удалите все потенциальные источники искрообразования и пламени из помещения;
Откройте клапан напуска воздуха вакуумного блока и сам блок МСД;
Подождите не менее 10 минут, чтобы водород рассеялся.
Включите ГХ и МСД, как обычно.
При использовании водорода проверяйте систему на наличие утечек для предотвращения возгорания и взрыва. Всегда проверяйте отсутствие утечек после замены источника водорода или обслуживания газовых линий. Всегда обеспечивайте вывод выхлопного газа форвакуумного насоса в вытяжной шкаф или за пределы помещения.
4.1.3 Особенности использования водорода на МСД
Использование водорода в качестве газа-носителя позволяет получить лучшее разделение веществ на колонке и сократить время анализа. Также водород можно использовать для очистки источника ионов от загрязнений (подробнее этот процесс описан в п.4.1.4). Кроме того, водород более доступен, и его стоимость ниже стоимости гелия.
Требования к хроматографу
В качестве газа-носителя рекомендуется использовать водород с чистотой не ниже 99.9999%.
Из теории хроматографии известно, что условия оптимального хроматографического разделения для гелия и водорода различны. При использовании водорода необходимо поддерживать более высокую линейную скорость газа-носителя через колонку. Во избежание ухудшения разделения скорость должна быть не меньше 35 см/с. Однако, для оптимального разделения, сохранения симметричной формы пиков и очередности выхода компонентов рекомендуется поддерживать скорость не менее 50 см/с.
При этом надо учитывать, чтобы давление глубокого вакуума в вакуумном блоке не превышало 50 мкТорр. Поэтому при использовании водорода рекомендуется устанавливать датчик глубокого вакуума и использовать колонки с меньшим внутренним диаметром, чем на гелии. Например, вместо колонки 30 м х 0.25 мм рекомендуется колонка 20 м х 0.18 мм.
По возможности, рекомендуется использовать диффузионный насос, т.к. он откачивает водород эффективнее турбомолекулярного насоса. При использовании турбомолекулярного насоса рекомендуемая производительность – не менее 240 л/с.
Требования к методу
Помните, что водород – не инертный газ. Поэтому во избежание нежелательных химических реакций в испарителе рекомендуется:
задавать минимально возможную температуру испарителя;
использовать ввод с программированием давления (для уменьшения времени нахождения пробы в испарителе);
применять программируемый испаритель для холодного ввода пробы;
использовать лайнеры с сужением внизу, чтобы свести к минимуму контакт пробы с металлическим упором лайнера, по возможности использовать лайнеры серии Ultra Inert;
исключить использование метиленхлорида и дисульфида углерода в качестве растворителей, чтобы предотвратить образование соляной кислоты при температуре испарителя более 280 °C;
Подготовка комплекса
При первом включении комплекса на водороде появляется высокий фон – происходит очистка источника ионов от углеводородов. Для ускорения процесса очистки необходимо после достижения рабочего вакуума в программе "МСД-Настройка" задать температуру источника ионов 350 °С, запустить Сканирование, отключить питание динода и умножителя (убрать соответствующие галочки) и оставить в этом состоянии на ночь. Данная процедура также помогает улучшить форму пиков.
Особенности проведения анализа и обработки данных
Соотношение Сигнал/Шум при использовании водорода меньше в 2-5 раз, чем на гелии за счёт увеличения фона и шума.
Спектр некоторых веществ может измениться, поэтому перед началом работы необходимо проверить возможные изменения. Качество библиотечного поиска несколько снижается, т.к. параметры Match и R.Match уменьшаются. Ниже для примера приведены спектры линдана с газом-носителем гелием и водородом.

Рисунок 4.1 – Спектр линдана, газ-носитель водород (Match=772, R.Match=804)

Рисунок 4.2 – Спектр линдана, газ-носитель гелий (Match=910, R.Match=929)
При проведении количественного анализа следует учитывать, что при переходе с гелия на водород для некоторых веществ (например, для полярных компонентов, нитроароматики, эфиров фталатов):
относительное СКО может ухудшиться;
зависимость интенсивности сигнала от концентрации может с линейной поменяться на квадратичную;
среднее значение сигнала может уменьшиться.
4.1.4 Очистка источника ионов водородом
Если подать в источник ионов небольшой поток водорода и включить катод, то в источнике образуются химически активные соединения водорода, которые вступают в реакцию с загрязнениями источника ионов, а образовавшиеся в результате реакции продукты откачиваются высоковакуумным насосом. В результате уменьшается фон, восстанавливается чувствительность МСД, и ручная очистка источника ионов требуется реже. Однако некоторые, менее химически активные вещества, невозможно удалить с помощью водорода, и для их удаления по-прежнему требуется механическая очистка. Но использование водорода позволяет проводить эту очистку значительно реже.
Для очистки рекомендуется использовать водород с чистотой не ниже 99.9999%. В качестве источника можно использовать, например, генератор водорода 214.4.464.014-04.00 производства ЗАО СКБ "Хроматэк" с подключенным к его выходу фильтром VICI Р200-1.
Возможны 3 варианта подачи водорода в источник ионов:
Через колонку, в качестве газа-носителя. В этом случае не требуется доработка ГХ-МСД, очистка будет проходить постоянно в процессе анализа (подробнее об использовании водорода в качестве газа-носителя см. п.4.1.3). При необходимости дополнительной очистки, можно увеличить поток водорода через колонку и провести очистку между анализами.
Через колонку, вместо газа-носителя. В этом случае также не требуется доработка ГХ-МСД, но перед каждой очисткой необходимо подключать водород к штуцеру газа-носителя, а после очистки ждать, пока водород будет удален из системы.
Через установленную на МСД систему самоочистки источника ионов. Она подает водород непосредственно в источник ионов. В этом случае водород можно подавать в источник ионов как во время анализа, так и между анализами. Водород не попадает в хроматограф, и это ускоряет его откачку после очистки. Не требуется дополнительных подключений для проведения очистки, все действия выполняются в программе.
Для всех трех видов подключения процесс очистки происходит одинаково:
в источник ионов необходимо подать поток водорода 1-3 мл/мин;
в программе "Хроматэк МСД-Настройка" задать температуру источника ионов 350°С;
включить катод;
оставить в этом состоянии на время от 2 до 12 часов;
выключить катод, отключить подачу водорода, охладить источник ионов до рабочей температуры.
4.1.5 Приемка и распаковка МСД
Приемку и распаковку МСД выполните в соответствии с руководством по эксплуатации на Комплекс аппаратно-программный для медицинских исследований на базе хроматографа "Хроматэк-Кристалл 5000" 214.2.840.043РЭ или на Хроматограф "Хроматэк-Кристалл 9000 214.2.840.073РЭ, в зависимости от того, в составе какого оборудования МСД был вам поставлен.
Проверьте комплектность МСД согласно разделу "Комплектность" паспорта 214.2.840.083ПС (214.2.840.083-01ПС, 214.2.840.083-02ПС, 214.2.840.083-03ПС).
4.1.6 Требования к рабочему месту
Подготовьте рабочее место в соответствии с нижеприведенными требованиями.
Требования к помещению
Требования к помещению приведены в руководстве по эксплуатации 214.2.840.039РЭ или 214.2.840.075РЭ.
Работа МСД в рекомендованном диапазоне температур (от 20 до 27 °C) обеспечивает наилучшие рабочие характеристики и срок службы.
На рабочие характеристики могут влиять источники прямого нагрева или охлаждения, (например, прямой солнечный свет, поток воздуха из кондиционера, сквозняк) и вибрация.
Температура окружающей среды на рабочем месте должна быть стабильной, чтобы обеспечить оптимальные характеристики узлов системы. Для достижения наилучшей стабильности сигнала температура в помещении не должна отклоняться более чем на ±3 °С от температуры калибровки. Более сильные изменения температуры приведут к более высокому дрейфу сигнала.
Если в МСД установлен ТМН FF-100/300E, то температура окружающего среды в помещении не должна превышать 32 °C. При более высоких температурах производитель ТМН предписывает использовать водяное охлаждение насоса.
МСД, оборудованные ХИ, используют воспламеняющиеся газы, поэтому помещение должно быть оборудовано соответствующей вентиляцией.
Выхлопные газы форвакуумного насоса содержат газ-носитель, растворители, анализируемые соединения и небольшое количество паров масла, залитого в насос.
Для предотвращения загрязнения помещения выхлопными газами из форвакуумного насоса возможны 2 варианта:
отвод выхлопных газов через трубу за пределы здания или в вытяжной шкаф;
установка на выходе форвакуумного насоса фильтра масляных паров для улавливания выхлопных газов. Фильтр устанавливается непосредственно на выходной фланец насоса и в этом случае отводная труба не требуется – фильтр полностью улавливает пары масла. Смену фильтра осуществлять по мере его загрязнения парами масла, но не реже 1 раза в год.
При анализе токсичных соединений или использовании опасных газов отвод выхлопных газов с форвакуумного насоса производить в специальную нейтрализующую установку.
Требования по непрерывности работы
МСД предназначен для непрерывной работы 24 часа в сутки 7 дней в неделю.
Периодический режим эксплуатации МСД неблагоприятно сказывается на работе и ресурсе форвакуумных насосов и электронных компонентов детектора, что может привести к снижению работоспособности и преждевременному выходу их из строя. Кроме того, после включения МСД в начале рабочего дня для выхода его на рабочий режим может потребоваться время от одного часа до нескольких часов (в зависимости от времени, прошедшего с момента последнего выключения комплекса).
Требования к поверхности установки
МСД в составе комплекса размещается на лабораторном столе или виброгасящей платформе (при установке в передвижной лаборатории) в порядке удобном для эксплуатации. Требования к размещению хроматографа приведены в руководстве по эксплуатации 214.2.840.043РЭ, 214.2.840.039РЭ или 214.2.840.075РЭ.
Лабораторный стол или платформа должны выдерживать, по крайней мере, 120 кг. Рекомендуемая глубина рабочего стола не менее 70 см, длина не менее 180 см при размещении монитора, системного блока компьютера и клавиатуры на одном столе с комплексом. Монитор, клавиатура, системный блок компьютера и принтер могут быть размещены на другом столе. В этом случае рекомендуемые размеры стола для комплекса не менее 70 * 120 см.
Оптимальное расстояние между задней стенкой хроматографа, МСД и стеной помещения должна быть более 500 мм, причем желательно иметь проход с задней стороны комплекса для подключения газовых магистралей, форвакуумного насоса и обслуживания комплекса.
Убедитесь в том, что рабочая поверхность устойчива, а вибрации отсутствуют, поскольку МСД является чувствительным прибором. Обратите внимание на отсутствие вибраций, создаваемых оборудованием, установленным вблизи МСД. Установите форвакуумный насос на полу, так как во время работы он создает вибрации.
Требования к электропитанию
Требования к электропитанию приведены в руководстве по эксплуатации 214.2.840.039РЭ или 214.2.840.075РЭ.
МСД должен быть заземлен. Заземление осуществляется с помощью сетевой вилки и дополнительного заземления. Контакты "⊥" сетевых розеток для подключения составных частей комплекса должны быть заземлены (соединены с контуром внешнего заземления) с помощью медных проводов сечением не менее 1,5 мм2.
Без заземления не включать!
Требования к газовому питанию
При работе МСД с ГХ требуется высокочистый гелий (не хуже 99.9995 %) в качестве хроматографического газа-носителя с содержанием менее чем 1 ppm каждой из примесей – воды, кислорода и суммарно углеводородов. Этим требованиям наилучшим образом удовлетворяет гелий газообразный марки "60" по ТУ 2114–001– 45905715–02 или по ТУ 0271–001–45905715–02. Применение гелия газообразного марки А (99,995 %) приведет к быстрому насыщению фильтра по газу-носителю, повышенному уровню шумов и увеличению эксплуатационных затрат на обслуживание МСД. При проведении поверки МСД в качестве газа-носителя применяют гелий газообразный марки "60".
Вместо гелия в качестве газа-носителя может быть использован водород по ГОСТ 3022.
Давление газа-носителя на входе комплекса должно быть (400 ± 40) кПа.
При наличии системы ХИ (по заказу) требуется газ-реагент, в качестве которого может использоваться метан, углекислый газ, изобутан и другие газы. Требования к ним приведены в таблице ниже.
Таблица 4.2 – Требования к газам для ХИ
| Тип газа | Чистота | Входное давление | Редуктор |
|---|---|---|---|
| Метан | 99,99 % | до 600 кПа | Двустадийный редуктор с мембраной из нержавеющей стали |
| Углекислый газ | 99,99 % | до 600 кПа | Двустадийный редуктор с мембраной из нержавеющей стали |
| Изобутан | 99,9 % | до 600 кПа | Двустадийный редуктор с мембраной из нержавеющей стали |
Газовые линии должны соответствовать требованиям руководства по эксплуатации 214.2.840.039РЭ или 214.2.840.075РЭ.
Подключение газовых линий
Монтаж газовых линий провести согласно руководству по эксплуатации 214.2.840.039РЭ или 214.2.840.075РЭ.
Подключение газа-реагента для ХИ:
Газы-реагенты для ХИ могут быть легковоспламеняющимися или коррозионно-активными. Подключите выход форвакуумного насоса к специальной нейтрализующей установке или к специальной линии в лаборатории для отвода опасных газов. Линии газов для ХИ должны быть герметичными.
Подключите газ-реагент в следующей последовательности:
подключите редуктор к баллону с газом–реагентом;
подготовьте газовый трубопровод для газа-реагента для ХИ;
проведите газовый трубопровод от редуктора газа-реагента к одному из 2-х штуцеров газа-реагента для ХИ, расположенному на задней стенке масс-спектрометра и маркированному как A или B;
сделайте в газовом трубопроводе противовибрационную петлю для изоляции от вибрации, и чтобы обеспечить возможность перемещения МСД по крайней мере на 40 см;
выведите конец газового трубопровода в вытяжной шкаф или за пределы помещения;
откройте вентиль газа-реагента на баллоне и установите редуктор на выходное давление 200 кПа;
продуйте газовый трубопровод в течение примерно 15 сек для удаления воздуха и мелких твердых частиц;
закройте вентиль газа-реагента;
подсоедините газовый трубопровод к вводу газа-реагента на задней стенке масс-спектрометра A или B;
установите редуктор газа-реагента на выходное давление 500 кПа.
При необходимости использования второго газа реагента, проделайте вышеописанные операции для его подключения к МСД.
Во избежание выхода из строя модуля ХИ ЗАПРЕЩАЕТСЯ подавать на его вход газ с давлением более 640 кПа.
Проверка всех газовых линий на отсутствие течей
используйте ручной электронный детектор течей (чувствительность по гелию 0,01 мл/мин) для проверки отсутствия течей во всех газовых линиях;
Во избежание загрязнения системы запрещается использовать для проверки на герметичность мыльные растворы.
проверьте линию газа-носителя на наличие течей;
проверьте линию газа-реагента для химической ионизации на наличие течей.
Герметичность подводящих газовых линий проверять манометрическим методом контроля по ГОСТ 25136–82. Допустимая утечка газа 0,02 мл⋅МПа/с.
4.1.7 Установка МСД
К установке МСД следует приступать после проведения всех необходимых подготовительных мероприятий, описанных в предыдущих разделах.
Установка МСД в составе комплекса проводится сервисным инженером СКБ "Хроматэк" или его официальным представителем.
Организации, располагающие собственными квалифицированными специалистами, могут произвести ввод МСД в эксплуатацию только с письменного разрешения СКБ "Хроматэк".
Так как МСД работает в составе комплекса с хроматографом, предварительно необходимо провести установку хроматографа в соответствии с руководством по эксплуатации 214.2.840.039РЭ или 214.2.840.075РЭ.

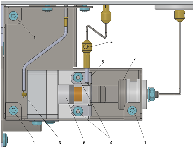
Рисунок 4.3 – Общий вид комплекса ГХ с МСД
Подключение МСД к ГХ и компьютеру
Разместите МСД с левой стороны ГХ так, чтобы переходная линия МСД вошла в отверстие для переходной линии в левой боковой крышке ГХ. Придвиньте МСД к ГХ до упора;
Соедините компьютер и МСД (гнездо LAN на задней стенке) кабелем Ethernet. При наличии одной сетевой карты в ПК для соединения используйте сетевой концентратор;
Подключите кабель старта МС (из ЗИП МСД) к разъему DETECTOR, расположенному на ГХ и к разъему GC, расположенному на задней стенке МСД.
Подключение форвакуумного насоса к МСД
Внешний вид безмасляного спирального форвакуумного насоса:

1– транспортировочная петля, 2 – форвакуумный фланец, 3– управление газобалластом, 4 – вентилятор, 5 – выхлопной фланец, 6 – резиновая ножка, 7 – разъем, 8 – USB разъем, 9 – панель управления, 10 – разъем питания, 11 – внешнее заземление
Рисунок 4.4 – Безмасляный спиральный форвакуумный насос
Подготовьте безмасляный спиральный форвакуумный насос к работе. Для этого:
Установите насос на полу. Насос не должен размещаться на рабочем столе, поскольку он является источником повышенных вибраций, которые могут повлиять на работу МСД;
Подсоедините форвакуумную линию к входному фланцу 2 с помощью хомута и уплотняющего кольца из комплекта ЗИП;
Подключите кабель электропитания форвакуумного насоса к розетке на задней панели МСД.
Внешний вид безмасляного диафрагменного форвакуумного насоса:

1 – разъем питания, 2 – форвакуумный штуцер, 3 – газобалласт
Рисунок 4.5 – Безмасляный диафрагменный форвакуумный насос
Подготовьте безмасляный диафрагменный форвакуумный насос к работе. Для этого:
Установите насос на полу. Насос не должен размещаться на рабочем столе, поскольку он является источником повышенных вибраций, которые могут повлиять на работу МСД;
Подсоедините форвакуумную линию к входному штуцеру 2 с помощью хомута из комплекта ЗИП;
Подключите кабель электропитания форвакуумного насоса к розетке на задней панели МСД.
Варианты масляных форвакуумных насосов:

| 1 – отверстие для залива масла (кольцевое уплотнение); | 6 – окошко для контроля уровня масла; | ||
|---|---|---|---|
| 2 – штуцер для подключения возвратной линии фильтра; | 7 – отверстие для слива масла; | ||
![]() |
3 – форвакуумный фланец; | 8 – корпус; | |
![]() |
4 – выхлопной фланец; | ![]() |
9 – вентиль газобалласта |
![]() |
5 – разъем питания типа IES/C14; | 10 – электродвигатель |
Рисунок 4.6 – Масляный форвакуумный насос, вариант 1

1 – электрический входной разъем; 2 – индикатор напряжения; 3 – ручка для перемещения насоса; 4 – форвакуумный фланец NW25; 5 – газобалластное устройство; 6 – отверстия для заливки масла; 7 – выхлопной фланец NW25; 8 – окошко для контроля уровня масла;
9 – отверстие для слива масла; 10 – резиновые опоры (4 шт); 11 – переключатель рабочих режимов; 12 – кнопка Вкл/Выкл; 13 – вентилятор двигателя; 14 – правильное направление вращения
Рисунок 4.7 – Масляный форвакуумный насос, вариант 2
Подготовьте масляный форвакуумный насос к работе. Для этого:
Установите насос на полу. Насос не должен размещаться на рабочем столе, поскольку он является источником повышенных вибраций, которые могут повлиять на работу МСД;
Открутите заглушку отверстия для заливки масла;
Залейте масло через отверстие так, чтобы его уровень в окошке контроля был посередине между верхней и нижней риской на смотровом стекле. Рекомендуемую марку масла уточняйте у производителя или в руководстве "Насос форвакуумный. Руководство по эксплуатации";
Если уровень масла превысит отметку MAX, снимите заглушку слива и слейте излишек масла;
Установите на место заглушку отверстия для заливки масла;
Подсоедините форвакуумную линию к форвакуумному фланцу с помощью хомута и уплотняющего кольца из комплекта ЗИП;
Подсоедините выхлопной фланец к отводной газовой трубе или фильтру для улавливания паров с помощью хомута и кольца, центрующего с уплотнением из комплекта поставки;
Вставьте вилку кабеля электропитания форвакуумного насоса в розетку на задней панели МСД.
Если в комплект поставки входит фильтр для улавливания паров масла, установите его на выхлопной фланец. В этом случае отводная газовая труба не требуется.
Более подробная информация о работе с форвакуумным насосом изложена в руководстве по эксплуатации на насос.
4.1.8 Установка колонки
Установка колонки в испаритель ГХ
При выполнении операций по установке колонки в испаритель необходимо использовать чистые резиновые бестальковые перчатки из комплекта ЗИП.

1 – испаритель; 2 – втулка (упор для лайнера длиной 99 мм); 3 – колонка;
4 – гайка; 5 – ферула Vespel/Graphite
Рисунок 4.8 – Схема установки колонки в испаритель с лайнером 99 мм
Для установки колонки в испаритель:
Разверните колонку приблизительно на 1 виток;
Наденьте на колонку кусочек резины (например, использованную мембрану испарителя), гайку 214.8.930.339 и ферулу Vespel/Graphite внутренним диаметром 0,4 мм из комплекта ЗИП. Резина, надетая на колонку, поможет правильно отмерить расстояние между гайкой и концом колонки;
Обрежьте 1-1.5 см колонки. Срез должен быть ровным, без сколов и трещин;
Протрите около 100 мм колонки от ее края до ферулы, безворсовой тканью, смоченной спиртом;
Вставьте колонку в шаблон (измеритель длины колонки) 214.6.236.249 из комплекта ЗИП;
Слегка закрутите гайку на измерительный шаблон так, чтобы для продвижения колонки внутрь трубки требовалось небольшое усилие;
Продвиньте колонку в шаблон так, чтобы ее конец совпал с отметкой 1 на шаблоне (для используемого лайнера испарителя 113 мм, расстояние d = 32 мм) или 2 (для используемого лайнера испарителя 99 мм, расстояние d = 43 мм);
Переместите кусочек резины к гайке. Следите за тем, чтобы резину в дальнейшем не сдвигать;
Извлеките колонку, гайку и ферулу из измерительного шаблона;
Вставьте колонку в испаритель;
Затяните гайку от руки, с последующим доворотом ключом на 60-90 градусов;
Задайте поток газа-носителя через колонку, опустите свободный конец колонки в емкость с растворителем и проконтролируйте наличие выходящих из колонки пузырьков газа.
Установка колонки в переходную линию МСД
При выполнении операций по установке колонки в переходную линию МСД необходимо использовать чистые резиновые бестальковые перчатки из комплекта ЗИП.
Возможны три варианта установки колонки в переходную линию МСД:
С помощью шаблона 214.6.236.249;
С помощью линейки по расстоянию от гайки до конца колонки;
С визуальным контролем длины выступающего из переходной линии участка колонки.
Для установки колонки в переходную линию с помощью шаблона 214.6.236.249:
Разверните колонку приблизительно на 1-1.5 витка;
Наденьте на колонку кусочек резины (например, использованную мембрану испарителя), гайку 214.8.930.339 и ферулу Vespel/Graphite внутренним диаметром 0,4 мм из комплекта ЗИП. Резина, надетая на колонку, поможет правильно отмерить расстояние между гайкой и концом колонки;
Обрежьте 1-1.5 см колонки. Срез должен быть ровным, без сколов и трещин;
Протрите приблизительно 300 мм колонки от ее края до ферулы, безворсовой тканью, смоченной этанолом или метанолом;
Вставьте колонку в шаблон (измеритель длины колонки) 214.6.236.249 из комплекта ЗИП (Рисунок );
Слегка закрутите гайку на измерительный шаблон так, чтобы для продвижения колонки внутрь трубки требовалось небольшое усилие;
Продвиньте колонку в шаблон таким образом, чтобы ее конец совпал с концом шаблона;
Подвиньте кусочек резины к гайке. Следите за тем, чтобы резину в дальнейшем не сдвигать;
Извлеките колонку, гайку и ферулу из измерительного шаблона;
Вставьте колонку с кусочком резины, гайкой и ферулой в переходную линию;
Затяните гайку от руки, с последующим доворотом ключом на 60-90 градусов.

1 – кусочек резины; 2 – гайка 214.8.930.339; 3 – ферула Vespel/Graphite;
4 – колонка, 5 – шаблон 214.6.236.249
Рисунок 4.9 – Установка колонки в переходную линию с помощью шаблона 214.6.236.249
Для установки колонки в переходную линию с помощью линейки:
Разверните колонку приблизительно на 1-1.5 витка;
Наденьте на колонку кусочек резины (например, использованную мембрану испарителя), гайку 214.8.930.339 и ферулу Vespel/Graphite внутренним диаметром 0,4 мм из комплекта ЗИП. Резина, надетая на колонку, поможет правильно отмерить расстояние между гайкой и концом колонки;
Обрежьте 1-1.5 см колонки. Срез должен быть ровным, без сколов и трещин;
Протрите приблизительно 300 мм колонки от ее края до ферулы, безворсовой тканью, смоченной спиртом;
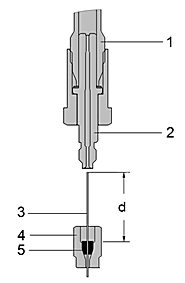
Отмерьте с помощью линейки расстояние от края гайки 214.8.930.339 до конца колонки, равное 201 мм (Рисунок );
Подвиньте кусочек резины к гайке. Следите за тем, чтобы резина в дальнейшем не перемещалась;
Вставьте колонку с кусочком резины, гайкой и ферулой в переходную линию;
Затяните гайку от руки, с последующим доворотом ключом на 60-90 градусов.

1 – кусочек резины; 2 – гайка 214.8.930.339; 3 – ферула Vespel/Graphite;
4 – колонка
Рисунок 4.10 – Установка колонки в переходную линию с помощью линейки
Для установки колонки в переходную линию с визуальным контролем длины выступающего участка колонки:
Разверните колонку приблизительно на 1-1.5 витка;
Наденьте на колонку гайку 214.8.930.339 и ферулу Vespel/Graphite внутренним диаметром 0,4 мм из комплекта ЗИП;
Обрежьте 1-1.5 см колонки. Срез должен быть ровным, без сколов и трещин;
Протрите приблизительно 300 мм колонки от ее края до ферулы, безворсовой тканью, смоченной спиртом;
Вставьте колонку с гайкой и ферулой в переходную линию;
Откройте боковую дверцу вакуумного блока (см. п. 5.4);
Продвиньте колонку в переходную линию так, чтобы ее конец выступал примерно на 1-2 мм от края переходной линии, что можно проконтролировать через смотровое окно вакуумного блока (Рисунок );
Затяните гайку от руки, с последующим доворотом ключом на 60-90 градусов;
Закройте боковую дверцу вакуумного блока.

Рисунок 4.11 – Вид колонки, выступающей из переходной линии МСД
4.1.9 Заглушение переходной линии
В случае работы МСД без ГХ, например, при поиске негерметичности, необходимо заглушить переходную линию. Для этого:
Выключите МСД и приведите его к атмосферному давлению;
Открутите гайку переходной линии и извлеките колонку из переходной линии;
Заглушите переходную линию, закрутив гайку 214.8.930.339 с ферулой без отверстия, или вставьте в отверстие ферулы тонкую чистую проволоку.
4.2 Работа с МСД
4.2.1 Включение и выключение МСД

Рисунок 4.12 – Задняя стенка МСД (стрелкой показан выключатель питания)
Для включения МСД:
Установите хроматографическую колонку (см. п. 4.1.8) либо заглушите переходную линию (см. п. 4.1.9);
Включите хроматограф, если вы работаете с подключенной колонкой, задайте поток газа-носителя согласно требованиям методики;
Снимите переднюю панель МСД, закрутите вентиль напуска воздуха в вакуумный блок и установите панель обратно на МСД;
Переведите выключатель питания (Рисунок ) на задней стенке МСД в верхнее положение. При этом:
на передней панели МСД загорится светодиод зеленого цвета;
включится форвакуумный насос, если на нем был заранее включен сетевой выключатель;
когда форвакуумное давление достигнет необходимого рабочего давления, включится высоковакуумный насос.
Если в МСД установлен ТМН FF-100/300, то без подключения к программе "МСД-Настройка" ТМН раскручиваться не будет.
При подключении к программе "МСД-Настройка" происходит анализ времени нахождения МСД в выключенном состоянии (простоя). Если это время превышает 3 месяца, то выполнятся процедура плавного разгона насоса. Она заключается в 4-х циклах разгона насоса до 50 % от рабочей скорости, с последующей остановкой.
Если время простоя МСД не превышает 3-х месяцев, то насос сразу начинает раскручиваться до рабочей скорости.
Информация о времени простоя хранится на ПК, поэтому после смены ПК "МСД-Настройка" запустит процедуру плавного разгона.
По возможности избегайте длительного простоя (хранения) МСД. При необходимости длительного простоя или хранения, производители насосов требуют: для насоса серии nEXT один раз в шесть месяцев запускать МСД как минимум на восемь часов; для насоса FF-100/300E один раз в три месяца запускать МСД как минимум на восемь часов.
Запустите программу МСД-Настройка. В меню "Выключение" нажмите на кнопку "Выключить";
Дождитесь, когда значения температур и скорости насоса станут отображаться черным цветом (будут в норме);
Выключите МСД. Для этого переведите переключатель питания на задней стенке в нижнее положение;
Снимите переднюю панель МСД. Поверните на полтора оборота против часовой стрелки вентиль напуска воздуха в вакуумный блок и проконтролируйте на слух по небольшому свисту натекание воздуха в вакуумный блок;
Охладите хроматограф согласно руководству 214.00045-51И;
При использовании водорода в качестве газа-носителя, выключите хроматограф, чтобы предотвратить накопление водорода в вакуумном блоке и закройте вентиль на источнике водорода или выключите генератор;
Выключите остальные приборы.
4.2.2 Диагностика МСД
Выполнить диагностику МСД можно как в программе Панель управления, так и в программе МСД-Настройка.
Выполняйте диагностику ежедневно, перед началом работы.
Для источника ионов версии STD автоматическую настройку рекомендуется проводить после выполнения 20-30 анализов (в зависимости от чистоты пробы), эта настройка улучшает фокусировку ионного пучка и помогает поддерживать источник ионов в чистом состоянии. Также автоматическую настройку необходимо проводить после чистки или замены компонентов МСД.
Настройка DFTPP/BFB позволяет настроить МСД для работы в соответствии со стандартами EPA (для этого настраивается определенное соотношение ионов ПФТБА).
По окончании диагностики и настройки программа формирует отчёт.
Ниже приведен список тестов, которые выполняются в процессе диагностики.
Электропитание
Проверка напряжений питания. Тест выполняется успешно, если все измеренные напряжения находятся в допустимых пределах. Если тест завершается с ошибкой, переведите МСД в режим "Сервис" на 5 сек. и обратно в режим "Работа" (произойдет перезагрузка электроники) и выполните тест повторно. Если это не помогает, обратитесь на предприятие-изготовитель или к его представителю для проведения диагностики и устранения проблем.
Линзы
Проверка напряжений на линзах и префильтре, проверка энергии электронов. Проверяется соответствие заданного и измеренного напряжения во всем рабочем диапазоне. Если этот тест завершается ошибкой, обратитесь к разделу 6.6.
Катод
Проверка работоспособности катода. У катода проверяются рабочие параметры и ток утечки. Если этот тест завершается ошибкой, обратитесь к разделу 5.5.3 (источник ионов STD) или 5.6.3 (источник ионов ADVIS).
Детектор
Проверка напряжений и шумов в системе детектирования. Тест проходит успешно, если измеренные напряжения и шумы находятся в допустимых пределах. Если тест завершается ошибкой, то возможно:
имеется повышенный шум умножителя или шум динода. Обратитесь к разделу 6.11 Ухудшение чувствительности – Высокий шум.
вышла из строя электроника. Обратитесь на предприятие-изготовитель или к его представителю для проведения диагностики и устранения проблем.
Драйвер стержней
Проверка соответствия заданных и измеренных напряжений на стержнях масс-фильтра. Также проверяется переключение напряжений на парах стержней. Если тест завершается ошибкой:
переведите МСД в режим "Сервис" на 5 сек. и обратно в режим "Работа" (произойдет перезагрузка электроники);
проведите тест еще раз;
если это не помогает, обратитесь на предприятие-изготовитель или к его представителю для проведения диагностики и устранения проблем.
Герметичность
Проверка выполняется следующим образом:
в течение 10 секунд в вакуумный блок напускается малый поток калибровочного газа вместе с воздухом;
измеряется высота пика кислорода с m/z 32 (h1);
подача калибровочного газа с воздухом отключается и в течение 45 секунд происходит откачка остатков воздуха из вакуумного блока;
измеряется высота пика кислорода с m/z 32 (h2);
значение негерметичности вычисляется по формуле h2/h1*100%.
Тест завершается успешно, если полученное значение негерметичности меньше или равно 5%. Однако, из опыта работы с ГХ/МСД известно, что на герметичном ГХ/МСД, без модуля ХИ, при использовании качественного гелия и фильтров это значение не превышает 3%.
Работа с МСД при значениях негерметичности более 5 % может привести к сокращению срока службы катода и электронного умножителя, поэтому негерметичность обязательно надо устранить.
Возможные причины завершения теста с ошибкой:
негерметичность газовых линий или испарителя в ГХ;
некачественное уплотнение колонки при подключении к переходной линии;
нет потока гелия от ГХ, это приводит к тому, что МСД засасывает воздух через колонку;
некачественные уплотнения вакуумного блока: боковой дверцы, вентиля напуска, турбомолекулярного насоса, переходной линии, электрических вводов, датчика глубокого вакуума.
Определение места утечки
Проверку герметичности подводящих газовых линий и испарителя ГХ выполнить согласно руководству на хроматограф, с которым эксплуатируется МСД.
Проверка наличия вакуумных течей в МСД:
В "Панели управления" нажмите кнопку МСД и выберите команду Открыть программу настройки. Запустится программа "МСД-Настройка";
В левом меню выберите команду Сканирование и нажмите кнопку Сканировать;
Используйте баллон с аргоном, установленным на нем редуктором и подсоединенной к редуктору фторопластовой трубкой диаметром 3 мм длиной 2-3 м из комплекта ЗИП ГХ;
На выходе редуктора установите давление примерно 30 кПа;
Последовательно подносите конец трубки с выходящим из нее аргоном ко всем местам возможного натекания воздуха, одновременно наблюдая за масс-спектром. Если конец трубки был поднесен к месту натекания – произойдет увеличение пика аргона с m/z 40;
Для поиска течей возможно также использование пневматического очистителя для оргтехники, содержащего тетрафторэтан (например, "MiraClean" производства ООО "Парити", артикул №24050). В этом случае, о наличии течи будет свидетельствовать увеличение пика с m/z 83.
Резонансная частота
Проверка соответствия заданной и измеренной резонансной частоты генератора РЧ. Если тест завершается ошибкой, то необходимо провести автоматическую настройку.
Линейность генератора
Проверка линейности напряжения генератора РЧ. Если тест завершается ошибкой, то необходимо провести стандартную автоматическую настройку.
4.2.3 Настройка
Автоматическую настройку следует проводить через 6 часов после включения комплекса и задания рабочего режима.
Настройка автоматическая не может быть выполнена, если на спектре отсутствуют ионы ПФТБА (m/z 69, 219, 502) или их интенсивность очень мала. Возможные причины отсутствия ионов ПФТБА:
постепенное снижение интенсивности и последующее пропадание ионов с m/z 502 свидетельствует о загрязнении источника ионов и префильтра, в этом случае необходимо выполнить их чистку (п. 5.5, 5.6, 5.7);
закончилась калибровочная жидкость в колбе модуля калибровки, необходимо ее долить;
в колбу, предназначенную для калибровочной жидкости, ошибочно залили не ПФТБА, а другое вещество (или смесь ПФТБА и другого вещества);
задано неправильное значение множителя амплитуды РЧ, необходимо провести предварительную ручную настройку.
Для выполнения настройки автоматической нажмите кнопку МСД в "Панели управления" и выберите тип настройки.
По окончанию настройки программа формирует отчёт.
Рекомендуется распечатать отчёт. Печатные копии отчётов могут быть полезны для восстановления информации о предыдущих настройках МСД в случае неисправности компьютера.
В случаях, когда автоматическая настройка не позволяет провести настройку МСД, может потребоваться проведение ручной настройки.
Настройка ручная доступна пользователю с правами "Администратор", поскольку требует определенной квалификации и может нарушить нормальную работу прибора. Чтобы получить такой доступ, обратитесь к разработчику.
4.2.4 Проверка спектров воды и газов
Процедуры диагностики и настройки могут выполняться в Панели управления (без вывода детальной информации) и программе МСД-настройка (с детальной информацией).
Помимо этого, в программе МСД-Настройка вы можете выполнить оценку спектров:
4.2.5 Стабилизация прибора
Если результаты проведенной настройки удовлетворительны, дайте комплексу очиститься от остатков калибровочного газа, а газовым линиям промыться, перед тем как переходить к выполнению квалификационных тестов на следующий день.
Установите на место все снятые крышки (если вы их снимали для обслуживания МСД);
Установите температуру термостата ГХ на 250 °C;
Не поднимайте температуру термостата до тех пор, пока Вы не будете уверены в отсутствии течей. При температурах выше 100 °C, колонка может быть повреждена при попадании в нее кислорода.
Установите температуру источника ионов 250 °C;
При наличии опции ХИ Установите поток газа-реагента для ХИ 1,5 мл/мин. Пустите для промывки газ-реагент ХИ;
Дайте источнику ионов и термостату ГХ прогреться в течение ночи.
4.2.6 Проверка отношения сигнал / шум в режиме ЭИ
![]() |
Откройте "Панель управления". Перейдите на страницу "Метод инструмента". |
|---|---|
![]() |
Перейдите в раздел "МСД". |
Задайте следующие параметры:
Выберите
Длительность анализа, мин – Задается хроматографом;
Тип ионизации – Электронная ионизация;
Калибровочный газ – Выкл;
Температура источника ионов – 200 °С;
Температура переходной линии – 250 °С;
Название – название первого сегмента (по желанию);
Фильтр – Выкл;
Ток эмиссии – По настройке;
Начало – 2,5 мин.
Катод – Вкл;
Усиление – 300000;
Массы – 50-300;
Длительность – 0,2 с.;
Полярность – +;
Настройка – Текущая настройка.
Создайте метод для ГХ в соответствии с информацией, приведенной в руководстве 214.00045-51И.
Задайте следующие параметры для хроматографа:
сброс пробы – 0 мл/мин (1 мин), 30 мл/мин (2 мин), 10 мл/мин;
положение клапана (предстарт включен) – закрыт (1 мин), открыт;
время анализа – 10 мин;
начальная температура термостата – 40 °С;
время выдержки при начальной температуре – 1 мин;
скорость изменения температуры колонки – 30 °С / мин;
конечная температура – 250 °С;
поток через колонку 1 мл/мин.
Подождите, по крайней мере, 30 минут для стабилизации МСД после достижения всех установленных параметров.
Перед проверкой отношения сигнал/шум при электронной ионизации выполните следующие процедуры:
Проведите диагностику. Если тест герметичности показывает утечку, перейдите к процедуре, описанной в разделе Определение места утечки (стр. 61);
Проверьте масс-спектр воздуха/воды и сохраните его для последующего сравнения;
Проверьте фоновый масс-спектр. Убедитесь в том, что масс-спектр остаточных газов похож на спектр, приведенный на рисунке. Сохраните масс-спектр остаточных газов;
Проверьте масс-спектр калибровочного газа. Убедитесь в том, что присутствуют все пики спектра калибровочного газа с m/z 69, 131, 219, 264, 414, и 502;
Выполните автоматическую настройку.
Введите 1 мкл раствора стандартного образца для проверки и запустите анализ на выполнение.
Выполните расчёт отношения Сигнал/Шум в программе "Хроматэк Аналитик":
В левом меню выберите страницу "МСД: Сигнал/Шум".
На открывшейся странице в списке "Тип анализа" выберите стандарт и колонку, соответствующие анализу.
На верхней панели нажмите "Расчёт".
Создайте отчёт.
4.2.7 Особенности работы
При работе с МСД периодически может потребоваться заменить лайнер или септу в испарителе хроматографа. Вы можете это сделать без выключения (остановки работы) МСД. Перед выполнением операции проконтролируйте, что катод МСД находится в выключенном состоянии.
При работе с МСД существует возможность одновременного подключения двух капиллярных колонок разного типа. В случае такой необходимости установите колонки в МСД с использованием специальной ферулы с двумя отверстиями, например ферула p/n 5062-3580 из каталога Agilent. Примите во внимание, что при увеличении потока газа-носителя ухудшается чувствительность МСД. Оптимальный поток газа носителя в МСД составляет не более 1,2 мл/мин.
4.2.8 Выбор катода
Переключение между катодами производится в программе "Панель управления" на странице "Состояние" в меню МСД:
4.3 Работа с МСД с опцией химической ионизации
4.3.1 Описание процесса химической ионизации
Отличие химической ионизации от электронной заключается в том, что химическая ионизация происходит не в вакууме, а в разреженном газе-реагенте, как правило, метане, или изобутане.
При химической ионизации большое значение имеет чистота газа-носителя гелия, в котором вода, тяжелые углеводороды и кислород находятся в минимальных количествах.
Химическая ионизация для анализа газовой фазы бывает с образованием как положительных, так и отрицательных ионов.
4.3.2 Химическая ионизация, положительные ионы ХИ(+)
Преимущества ХИ(+) по сравнению с электронной ионизацией: низкая фрагментация, интенсивный пик квазимолекулярного иона M+, который обычно отсутствует при электронной ионизации. Так как доля молекул газа-реагента значительно превышает долю молекул анализируемого вещества, происходит преимущественная ионизация газа-реагента. Газ-реагент, например метан, ионизируется пучком электронов:
CH4 + e− = CH4+ + 2e−
Ионы распадаются или, по большей части, реагируют с неионизированными молекулами газа-реагента:
CH4 + CH4+ = CH3 + CH5+
Ион CH5+ передает протон анализируемым молекулам M, тем самым ионизуя их:
CH5+ + M = CH4 + MH+
Так как при химической ионизации образуется множество побочных продуктов ионизации газа, возможно образование аддуктов (продуктов прямого присоединения молекул друг к другу), например:
CH3+ + M = (M+CH3)+
C2H5+ + M = (M+C2H5)+
Таким образом, происходит мягкая ионизация анализируемых молекул, которая не вызывает значительной фрагментации, в отличие от электронной ионизации.
Выбор газа-реагента для химической ионизации определяется его сродством к протону в газовой фазе. Оно возрастает в ряду:
CH4 < С4H10 < NH3
Следовательно, если с помощью метана можно ионизовать практический любые летучие вещества, то с помощью аммиака — только сильные основания, например, амины. Таким образом может достигаться селективность.
ХИ(+) позволяет получить спектр молекулярного иона анализируемого вещества, однако затрудняет изучение его структуры из-за отсутствия фрагментации.
Почти все нейтральные вещества могут образовывать положительные ионы через реакции, описанные выше.
4.3.3 Химическая ионизация, отрицательные ионы ХИ(-)
Для того чтобы увидеть отклик при отрицательной химической ионизации, вещество должно быть способно производить отрицательный ион, например, при ионизации захватом электронов. В связи с тем, что не все вещества могут делать это, использование ХИ(-) даёт определенную селективность, недоступную для других методов ионизации. ХИ(-) может быть использована для анализа соединений, содержащих кислотные группы или электроотрицательные элементы (особенно галогены).
Из-за высокой электроотрицательности галогенов, ХИ(-) является распространенным методом их анализа. В частности, этим методом пользуются при анализе полихлорированных бифенилов, пестицидов, и антипиренов.
4.3.4 Подготовка МСД
Подготовьте МСД к работе в режиме химической ионизации. Для этого:
МСД должен быть настроен в режиме электронной ионизации.
В источнике ионов замените ионизационную камеру ЭИ (установлена по умолчанию) на ионизационную камеру ХИ. Процедура снятия и установки ионизационной камеры описана в п. 5.5.2, 5.6.2.
Подключите газ-реагент (давление не более 500 kPa) к входу А или В на задней стенке МСД.
4.3.5 Управление газом-реагентом
В "Панели управления" создайте метод инструмента – на странице МСД укажите "Вход газа-реагента", "Газ-реагент", "Поток газа-реагента".
Для того чтобы включить газ-реагент в программе МСД-Настройка, на правой панели в группе параметров "Ионизация/Газ" выберите "Вход газа-реагента", "Газ-реагент", задайте "Поток газа-реагента ХИ".
Типы и диапазоны допустимых значений потока газа-реагента приведены в разделе Модуль газа-реагента для ХИ.
Все дальнейшие процедуры показаны на примере метана в качестве газа-реагента. Для работы с метаном в режиме ХИ(+) оптимальным является поток 1.5 мл/мин, в режиме ХИ(-) оптимальным является поток 0.5 мл/мин.
Перед проведением настройки дайте МСД поработать с включенным газом-реагентом в течение нескольких часов, чтобы продуть газовые линии от содержащегося в них воздуха (после длительного простоя МСД) или гелия (после работы в режиме ЭИ). Для ускорения продувки задайте максимальный расход газа-реагента. Сначала форвакуумное давление резко увеличится, а через некоторое время (15-30 минут) стабилизируется. Это означает, что продувка трубок газом-реагентом завершена.
После окончания продувки задайте рабочий расход газа-реагента и дождитесь стабилизации форвакуумного давления.
4.2.3 Настройка
Настройку автоматическую проводить не менее чем через 6 часов после включения комплекса и задания рабочего режима.
Настройка проводится в программе "Панель управления" отдельно для режимов ХИ(+) и
ХИ(-). На странице Состояние нажмите кнопку МСД, выберите команду Настройка автоматическая – Настройка ХИ+ (или Настройка ХИ-).
По окончании настройки программа выдаст отчёт о настройке.
4.3.7 Проверка спектров
Помимо этого, в программе МСД-Настройка вы можете выполнить оценку спектров:
4.3.8 Подготовка МСД к работе в режиме ЭИ после работы в режиме ХИ
При переходе МСД из режима ХИ в режим ЭИ замените в источнике ионов ионизационную камеру ХИ на ионизационную камеру ЭИ. Процедура снятия и установки ионизационной камеры описана в п. 5.5.2, 5.6.2.
После простоя МСД или после работы в режиме ХИ трубки модуля ХИ заполнены воздухом или газом-реагентом. Для их вакуумирования требуется несколько часов работы МСД. Этот процесс можно ускорить:
подключите гелий (давление не более 500 kPa) к свободному входу на задней стенке МСД;
в "Панели управления" выберите вход газа реагента, к которому подключен гелий и задайте максимальный поток. В списке газов-реагентов гелий отсутствует, поэтому выберите метан и задайте поток 4.7 мл/мин;
сначала форвакуумное давление резко увеличится, а через некоторое время (15-30 минут) упадёт и стабилизируется. Это означает, что продувка трубок гелием завершена;
после завершения продувки выключите газ-реагент в "Панели управления" и дождитесь стабилизации форвакуумного давления.
4.3.9 Проверка отношения сигнал / шум в режиме ХИ(+)
![]() |
Откройте "Панель управления". Перейдите на страницу "Метод инструмента". |
|---|---|
![]() |
Перейдите в раздел "МСД". |
Длительность анализа, мин – Задается хроматографом;
Тип ионизации – Химическая ионизация;
Калибровочный газ – Выкл;
Температура источника ионов – 200 °С;
Температура переходной линии – 250 °С;
Газ-реагент – метан;
Вход газа-реагента – А или В (в зависимости от того, куда подключен метан);
Поток газа-реагента – 1.5 мл/мин.
Название – название первого сегмента (по желанию);
Фильтр – Выкл;
Ток эмиссии – 50 мкА;
Начало – 2,5 мин;
Катод – Вкл;
Усиление – 10000;
Массы – от 80 до 230 а.е.м;
Длительность – 0,2 с.;
Полярность – "+";
Настройка – Текущая настройка.
Создайте метод для ГХ в соответствии с информацией, приведенной в руководстве 214.00045-51И.
Задайте следующие параметры для хроматографа:
сброс пробы – 0 мл/мин (1 мин), 30 мл/мин (2 мин), 10 мл/мин;
положение клапана (предстарт включен) – закрыт (1 мин), открыт;
время анализа – 12 мин;
начальная температура термостата – 40 °С;
время выдержки при начальной температуре – 1 мин;
скорость изменения температуры колонки – 30 °С / мин;
конечная температура – 250 °С;
поток через колонку – 1 мл/мин;
Температура испарителя – 250 °С.
Подождите, по крайней мере, 30 минут для стабилизации МСД после достижения всех установленных параметров.
Перед проверкой отношения сигнал/шум выполните автоматическую настройку.
Введите 1 мкл раствора бензофенона с концентрацией 100 пг/мкл из комплекта ЗИП и запустите анализ на выполнение. В нагретом испарителе реальный объем введенного раствора будет равен 1 мкл плюс объем иглы используемого шприца.
Выполните расчёт отношения Сигнал/Шум в программе "Хроматэк Аналитик":
В левом меню выберите страницу "МСД: Сигнал/Шум".
Из выпадающего списка "Тип анализа" выберите Бензофенон, колонка 15м или Бензофенон, колонка 30 м.
На верхней панели нажмите "Расчёт".
Создайте отчёт.
4.3.10 Проверка отношения сигнал / шум в режиме ХИ(-)
Создание метода для МСД в режиме ХИ(-)
![]() |
Откройте "Панель управления". Перейдите на страницу "Метод инструмента". |
|---|---|
![]() |
Перейдите в раздел "МСД". |
Длительность анализа, мин – Задается хроматографом;
Тип ионизации – Химическая ионизация;
Калибровочный газ – Выкл;
Температура источника ионов – 200 °С;
Температура переходной линии – 250 °С;
Газ-реагент – метан
Вход газа-реагента – А или В (в зависимости от того, куда подключен метан)
Поток газа-реагента – 0.5 мл/мин.
Название – название первого сегмента (по желанию);
Фильтр – Выкл;
Ток эмиссии – 50 мкА;
Начало – 2.5 мин.
Катод – Вкл;
Усиление – 50000;
Массы – от 50 до 300 а.е.м;
Длительность – 0,2 с.;
Полярность – "-";
Настройка – Текущая настройка;
Создайте метод для ГХ в соответствии с информацией, приведенной в руководстве 214.00045-51И.
Задайте следующие параметры для хроматографа:
сброс пробы – 0 мл/мин (1 мин), 30 мл/мин (2 мин), 10 мл/мин;
положение клапана (предстарт включен) – закрыт (1 мин), открыт;
время анализа – 12 мин;
начальная температура термостата – 40 °С;
время выдержки при начальной температуре – 1 мин;
скорость изменения температуры колонки – 30 °С / мин;
конечная температура – 250 °С;
поток через колонку – 1 мл/мин;
Температура испарителя – 250 °С.
Подождите, по крайней мере, 30 минут для стабилизации МСД после достижения всех установленных параметров.
Перед проверкой отношения сигнал/шум при химической ионизации выполните автоматическую настройку.
Введите 2 мкл раствора октафторнафталина с концентрацией 100 фг/мкл из комплекта ЗИП и запустите анализ на выполнение. В нагретом испарителе реальный объем введенного раствора будет равен 2 мкл плюс объем иглы используемого шприца.
Выполните расчёт отношения Сигнал/Шум в программе "Хроматэк Аналитик":
В левом меню выберите страницу "МСД: Сигнал/Шум".
Из выпадающего списка "Тип анализа" выберите Октафторнафталин, колонка 15 м или Октафторнафталин, колонка 30 м.
На верхней панели нажмите "Расчёт";
Создайте отчёт.
4.4 Работа с вакуумным шлюзом без устройства прямого ввода
Если МСД укомплектован вакуумным шлюзом с зондом, то можно выполнять оперативное извлечение и установку ионизационной камеры источника ионов для чистки или замены без отключения вакуума (разгерметизации вакуумного блока).
Работа с вакуумным шлюзом и зондом по извлечению из источника ионов ионизационной камеры описана в разделе 4.2 руководства "Устройство прямого ввода МСД. Руководство по эксплуатации 214.5.880.003РЭ".
4.5 Работа с устройством прямого ввода
Устройство прямого ввода и работа с ним описаны в руководстве "Устройство прямого ввода МСД. Руководство по эксплуатации 214.5.880.003РЭ".
4.6 Работа с устройством герметизации
Устройство герметизации МСД 5.880.001 предназначено для быстрой замены хроматографической колонки на газовом хроматографе без разгерметизации МСД.
Конструкция устройства и работа с ним описаны в руководстве "Устройство герметизации МСД. Руководство по эксплуатации 214.5.880.001РЭ".
5 Техническое обслуживание
5.1 График технического обслуживания
Выполнение технического обслуживания подразумевает выполнение профилактических операций, разборку МСД, чистку его деталей, узлов, замену расходных и изношенных частей. В таблице ниже приведен рекомендуемый график выполнения работ по техническому обслуживанию МСД. Адаптируйте графики технического обслуживания в соответствии с тем, насколько часто загрязняется и насколько интенсивно используется ваш МСД.
Для идентификации отклонения от нормальной работы и выполнения соответствующих действий по устранению этих отклонений ведите записи о состоянии прибора после очередного выполнения технического обслуживания.
Таблица 5.1 – Рекомендованный график технического обслуживания
| Операция | Периодичность |
|---|---|
| Выполнение диагностических тестов | Ежедневно, перед началом работы |
| Включение МСД как минимум на восемь часов с целью надлежащей смазки подшипника ТМН | Каждые 6 месяцев простоя для насоса серии nEXT |
| Включение МСД как минимум на восемь часов с целью надлежащей смазки подшипника ТМН | Каждые 3 месяца простоя для насоса FF-100/300E |
| Очистка источника ионов | При необходимости |
| Очистка префильтра и масс-фильтра | При необходимости |
| Техническое обслуживание системы детектирования | При необходимости |
| Проверка чистоты печатных плат и вентиляторов на источнике питания | 6 месяцев |
| Масляный форвакуумный насос: проверка уровня масла | Ежедневно |
| Масляный форвакуумный насос: добавление масла | При необходимости |
| Масляный форвакуумный насос: очистка масла | При необходимости |
| Масляный форвакуумный насос: замена масла | Через 3000 часов работы |
| Безмасляный форвакуумный насос: проверка и очистка кожуха внешнего вентилятора, при необходимости | 12 месяцев (при необходимости) |
| Безмасляный форвакуумный насос: замена уплотнения спирали | 30 месяцев (при необходимости) |
| Безмасляный форвакуумный насос: замена подшипников | 60 месяцев |
|
Турбомолекулярный насос nEXT240D или nEXT 300D: замена масляного картриджа |
Через 17500 часов работы |
|
Турбомолекулярный насос nEXT240D или nEXT 300D: замена подшипника |
Через 35000 часов работы |
| Турбомолекулярный насос nEXT85D: замена масляного картриджа и подшипника | Через 35000 часов работы |
| Турбомолекулярный насос FF-100/300E: замена подшипников | В зависимости от условий работы |
| Диффузионный насос: замена рабочей жидкости | 12 месяцев |
| Добавление калибровочной жидкости в модуль калибровочного газа | При необходимости |
Полная информация о сроках и порядке технического обслуживания покупных узлов, используемых инструментах и материалах приведена в эксплуатационной документации на узлы из комплекта поставки.
5.2 Общие указания
Эксплуатационные характеристики МСД зависят от того, насколько все его компоненты чистые и работают надлежащим образом. Прежде, чем вы начнете чистку компонентов, выключите МСД, отключите кабель электропитания и снимите крышки, чтобы обеспечить доступ к узлам. Принимайте дополнительные меры предосторожности при выполнении процедур очистки, так как некоторые компоненты могут быть повреждены при воздействии на них абразивов, растворителей или тепла.
Для оценки необходимости проведения технического обслуживания выполните следующие действия:
Выполните диагностические тесты;
Выполните проверку отношения сигнал/шум и СКО. Используйте для проверки тестовые наборы октафторнафталина и гексахлорбензола, которые поставляются с прибором. При необходимости приобретите дополнительные наборы у поставщика МСД;
Сравните результаты тестов с предыдущими результатами;
Если полученные результаты проверки существенно хуже предыдущих – произведите чистку источника ионов. Снова выполните проверку отношения сигнал/шум и СКО и сравните результаты;
Если эксплуатационные характеристики не восстановились, то произведите чистку префильтра.
Периодичность чистки МСД зависит от типа и количества проб и растворителей, которые вы вводите в хроматограф. В общем случае компонент МСД, наиболее близкий к точке ввода пробы, быстрее других становится грязным. Например, вы будете очищать источник ионов чаще, чем другие части.
При выполнении операций технического обслуживания компонентов вакуумного блока необходимо использовать чистые резиновые бестальковые перчатки из комплекта ЗИП.
5.3 Расходные материалы для МСД
Срок службы расходных материалов МСД существенно зависит от проводимых анализов и условий эксплуатации (чистоты газа-носителя, свойств анализируемой пробы, температуры окружающей среды и других). В таблице ниже приведены расходные материалы, признаки их износа, факторы, влияющие на длительность использования материалов и номинальный срок службы. При заказе расходных материалов сообщайте код сборки МСД, нанесенный на этикетку, расположенную за съёмной передней панелью.
Таблица 5.2 – Расходные материалы для МСД
| Наименование | Признаки износа | Факторы, влияющие на срок службы |
Номинальный срок службы. Рекомендации |
|---|---|---|---|
|
Катод 214.6.622.054 (источник ионов STD) или катод 214.6.622.062 (источник ионов ADVIS) |
Отсутствие полезного сигнала МСД | Чистота газа-носителя, герметичность вакуумного блока, количество, концентрация и химическая активность проб |
3-12 месяцев. Замена |
| Электронный умножитель (тип указан в коде сборки) | Напряжение умножителя при автоматической настройке превышает 2950 В | То же | Замена |
| Масло Ultragrade 19 для форвакуумного насоса Edwards RV3 | См. п.5.11.1 | То же |
3000 часов Замена. |
| Комплект внешних уплотнений вала насоса RV3 Edwards A65201134 | Утечка масла в месте уплотнения вала | То же | Замена уплотнения вала |
| Уплотнение спирали безмасляного насоса |
30 месяцев Замена. | ||
| Подшипник безмасляного насоса |
60 месяцев Замена | ||
| Масляный картридж B80000811 для насоса nEXT240D или nEXT 300D |
См. п.5.13.22 | Температура окружающей среды, загрязнения, пыль, твердые частицы |
17500 часов Замена |
| Масляный картридж и подшипник B80000810 для насоса nEXT240D или nEXT 300D | См. п.5.13.22 | То же |
35000 часов Замена |
| Масляный картридж B8G200828 для насоса nEXT85D | См. п.5.13.2 | То же |
35000 часов Замена |
| Подшипник B8G200811 для насоса nEXT85D | См. п.5.13.2 | То же |
35000 часов Замена |
| Подшипники для насоса FF-100/300E |
Повышенный шум или вибрация при работающем насосе. Скорость вращения насоса менее 100 %. Невозможность достижения скорости 100 % за определенное время. |
То же | В зависимости от условий работы |
| Рабочая жидкость диффузионного насоса |
12 месяцев Замена | ||
| Калибровочная жидкость PFTBA | Пустая колба калибровочной жидкости | Частота проведения настройки МСД |
1.5 года Доливка. |
5.4 Порядок открывания боковой панели вакуумного блока для проведения обслуживания его компонентов
Для получения доступа к компонентам вакуумного блока выполните следующие действия:
Выключите МСД согласно п. 4.2.1;
Открутите 4 винта TORX20, крепящие левую крышку, и 1 винт TORX20 справа, крепящий верхнюю крышку. Снимите переднюю панель, левую и верхнюю крышки МСД:

Рисунок 5.1 – Снятие передней панели, левой и верхней крышек МСД
Максимально выкрутите ручку замка боковой дверцы:

Рисунок 5.2 – Выкручивание ручки замка боковой дверцы
Поверните боковую дверцу влево на угол 30-40 градусов:

Рисунок 5.3 – Поворот боковой дверцы
5.5 Техническое обслуживание источника ионов STD
5.5.1 Общие сведения
Техническое обслуживание источника ионов осуществляется пользователем и не требует выполнения каких-либо квалификационных процедур.
Источник ионов содержит ионизационную камеру, катод и линзы. Поскольку ионизационная камера и линзы подвержены прямому воздействию проб, вводимых в МСД, они требуют наиболее частой очистки для восстановления рабочих характеристик МСД.
Кроме того, в процессе работы может перегореть нить накала в катоде в случае выхода из колонки большого количества растворителя или при наличии негерметичности и натекании в вакуумный блок большого количества воздуха. Катод содержит две нити накала, переключаемых программно. Если перегорели обе нити, то чтобы продолжить работу с МСД, катод необходимо заменить.
5.5.2 Порядок снятия, очистки и установки ионизационной камеры и линз источника ионов
Ионизационная камера и линзы вступают в прямой контакт с образцами, вводимыми в МСД, и нуждаются в периодической чистке. Периодичность чистки ионизационной камеры зависит от типа и количества анализируемых веществ.

1 – Ионизационная камера ЭИ; 2 – Ионизационная камера ХИ
Рисунок 5.4 – Ионизационные камеры для ЭИ и ХИ источника ионов STD

Рисунок 5.5 – Линзы источника ионов STD
Выполните следующие действия для чистки ионизационной камеры и линз:
Выключите МСД согласно п. 4.2.1;
Снимите переднюю, верхнюю и левую крышки, открутив винты ключом TORX20 из комплекта ЗИП;
Откройте боковую дверцу вакуумного блока (п. 5.4);
Отсоедините от разъема на дверце вакуумного блока 4 провода термостата источника ионов, затем отсоедините 4 провода от катода и 4 провода от линз;
Поверните держатель магнитов, открутив винт в верхней части держателя ключом TORX20 из комплекта ЗИП;
Снимите источник ионов, открутив 3 винта, фиксирующих источник ионов в держателе, отверткой с прямым шлицом из комплекта ЗИП хроматографа;
Открутите 3 гайки, фиксирующие линзы на корпусе источника, ключом на 5,5 из комплекта ЗИП ГХ;
Снимите кожух линз и линзы;
Открутите винт, удерживающий ионизационную камеру в корпусе источника ионов, отверткой с прямым шлицом из комплекта ЗИП хроматографа;
Извлеките заглушку ионизационной камеры и ионизационную камеру;
Очистите линзы, ионизационную камеру и её заглушку согласно п. 5.9.1;
Установите ионизационную камеру и заглушку ионизационной камеры;
Зафиксируйте винтом ионизационную камеру в корпусе источника ионов, используя отвертку с прямым шлицом из комплекта ЗИП хроматографа;
Установите линзы обратно на центрующие шпильки, наденьте на линзы кожух;
Закрутите 3 гайки ключом на 5,5 из комплекта ЗИП ГХ, зафиксировав линзы и кожух линз;
Установите источник ионов на место, прикрутите его 3-мя винтами отверткой с прямым шлицом из комплекта ЗИП хроматографа;
Поверните держатель магнитов в исходное положение, зафиксируйте его положение винтом в верхней части держателя;
Присоедините провода термостата источника ионов к разъему на дверце вакуумного блока, присоедините провода к катоду и линзам. Подсоединение согласно обозначениям на внутренней стороне дверцы вакуумного блока;
Закройте боковую дверцу вакуумного блока;
Установите на место верхнюю, левую и переднюю крышки, закрутите винты ключом TORX20 из комплекта ЗИП;
Включите МСД;
Задайте 350°С температуру источника ионов в "Панели управления";
Дайте источнику прогреться в течение 4 часов для удаления следов растворителя;
Задайте рабочий режим;
После выхода комплекса на готовность проведите автоматическую настройку.
Если МСД укомплектован вакуумным шлюзом с зондом, то можно выполнять оперативное извлечение и установку ионизационной камеры источника ионов для чистки или замены без отключения вакуума (разгерметизации вакуумного блока).
Работа с вакуумным шлюзом и зондом по извлечению из источника ионов ионизационной камеры описана в разделе 4.2 руководства "Устройство прямого ввода МСД. Руководство по эксплуатации 214.5.880.003РЭ".
5.5.3 Чистка и замена катода
Некоторые пробы при попадании в МСД могут образовать на катоде проводящий налет, который создает ток утечки, что приводит к снижению полезного сигнала. Диагностика тока утечки производится в программе "Хроматэк МСД-Настройка" – меню Диагностика – Катод. Максимально допустимое значение тока утечки составляет 10 мкА. При превышении этого значения катод необходимо извлечь согласно описанию, приведенному ниже, и промыть его в слабом (10%) растворе соляной кислоты в ультразвуковой ванне в течение 3-5 мин., с последующим тщательным ополаскиванием в дистиллированной воде и промывкой в этаноле.
Если требуемый ток эмиссии катода не устанавливается и диагностический тест катода показывает неисправность катода, то это может означать, что перегорела нить накала в катоде. В МСД с источником ионов STD в одном катоде размещены две нити накала. Если одна из нитей перегорела, используйте вторую нить. Если перегорела и вторая нить, замените весь катод. Вы можете увеличить срок службы катода следующими способами:
Выключайте катод на время выхода пика растворителя;
Не начинайте сканирования во время выхода пика растворителя;
Выбирайте наиболее низкий ток эмиссии.
Для замены катода источника ионов выполните следующие действия:
Выключите МСД согласно п. 4.2.1;
Снимите переднюю, верхнюю и левую крышки, открутив винты ключом TORX20 из комплекта ЗИП;
Откройте боковую дверцу вакуумного блока (п. 5.4);
Поверните держатель магнитов, открутив винт в верхней части держателя ключом TORX20 из комплекта ЗИП;
Отсоедините провода от катода;
Выкрутите винты, фиксирующие катод, отверткой с прямым шлицом из комплекта ЗИП хроматографа;
Извлеките катод из корпуса источника ионов;
Установите новый катод в корпус источника ионов;
Зафиксируйте катод винтами при помощи отвертки с прямым шлицом из комплекта ЗИП хроматографа;
Присоедините провода разъема на дверце вакуумного блока к новому катоду в соответствии с маркировкой, нанесенной на катоде и боковой дверце вакуумного блока;
Поверните держатель магнитов в исходное положение, зафиксируйте его положение винтом в верхней части держателя;
Закройте дверцу вакуумного блока;
Установите на место левую, переднюю и верхнюю крышки;
Включите МСД;
Задайте 350°С температуру источника ионов в "Панели управления";
Дайте источнику прогреться в течение 4 часов;
Задайте рабочий режим;
После выхода комплекса на готовность проведите автоматическую настройку.
5.6 Техническое обслуживание источника ионов ADVIS
5.5.1 Общие сведения
Техническое обслуживание источника ионов осуществляется пользователем и не требует выполнения каких-либо квалификационных процедур.
Источник ионов содержит ионизационную камеру, репеллер, катод и линзы. Поскольку ионизационная камера, репеллер и линзы подвержены прямому воздействию проб, вводимых в МСД, они требуют наиболее частой очистки для восстановления рабочих характеристик МСД.
Кроме того, в процессе работы может перегореть катод в случае выхода из колонки большого количества растворителя или при наличии негерметичности и натекании в вакуумный блок большого количества воздуха. В источнике ионов установлены два катода, переключаемых программно. Если перегорели оба катода, то чтобы продолжить работу с МСД, катоды необходимо заменить.
5.6.2 Порядок снятия, очистки и установки ионизационной камеры, репеллера и линз
Ионизационная камера, репеллер и линзы вступают в прямой контакт с образцами, вводимыми в МСД, и нуждаются в периодической чистке. Периодичность чистки ионизационной камеры зависит от типа и количества анализируемых веществ.

1 – Ионизационная камера ЭИ; 2 – Ионизационная камера ХИ
Рисунок 5.6 – Ионизационные камеры для ЭИ и для ХИ источника ионов ADVIS

Рисунок 5.7 – Репеллер источника ионов ADVIS

1 – линза 1; 2 – линза 2; 3 – линза 3
Рисунок 5.8 – Линзы источника ионов ADVIS
Выполните следующие действия для чистки ионизационной камеры, репеллера и линз:
Выключите МСД согласно п. 4.2.1;
Снимите переднюю, верхнюю и левую крышки, открутив винты ключом TORX20 из комплекта ЗИП;
Откройте боковую дверцу вакуумного блока (п. 5.4);
Отсоедините от разъема на дверце вакуумного блока 4 провода термостата источника ионов, затем отсоедините 4 провода от катодов, 1 провод от репеллера и 3 провода от линз;
Снимите источник ионов, открутив 2 винта, фиксирующих источник ионов на держателе;
Открутите 2 винта, фиксирующие фланец на корпусе источника, ключом TORX10 из комплекта ЗИП;

Снимите фланец и извлеките пинцетом из корпуса волновую шайбу, линзы и керамические изоляторы. Также их можно извлечь, просто перевернув источник ионов над столом – линзы выпадут сами;

Если необходимо, с помощью пинцета можно достать керамические изоляторы. Они не позволяют выводам линз замыкать на корпус источника ионов;

Открутите винт, удерживающий репеллер и ионизационную камеру в корпусе источника ионов;

Извлеките репеллер и ионизационную камеру;

1 – ионизационная камера, 2 – репеллер, закрепленный на корпусе:

Рожковым ключом на 5,5 мм открутите гайку, фиксирующую репеллер, и извлеките репеллер;

Придерживайте репеллер, чтобы он не проворачивался при откручивании. Обратите внимание, как расположены корпус и репеллер в сборе;

Очистите линзы, ионизационную камеру и репеллер согласно п. 5.9.1. Если у Вас установлено исполнение источника ионов, металлические поверхности которого, имеют специальное покрытие и отличаются радужным цветом поверхности, то для чистки источника не используйте пудру оксида алюминия. Вместо этого чистку проводите ватными палочками, смоченными в изопропаноле;
Соберите репеллер с керамическими шайбами в обратном порядке и зафиксируйте их гайкой от руки до касания. Будьте аккуратны и не повредите керамические изоляторы. Обратите внимание, как расположены корпус и репеллер в сборе;
Установите в корпус ионизационную камеру и репеллер в сборе и зафиксируйте их винтом;
Установите в корпус линзы и керамические изоляторы. Номер линзы и указатель направления установки находится рядом с контактом;

Установите волновую пружину, фланец и зафиксируйте фланец двумя винтами. Волновая шайба должна закрывать керамику, не допускайте смещения шайбы;

Установите источник ионов на держателе и зафиксируйте его двумя винтами;
Присоедините провода термостата источника ионов к разъему на дверце вакуумного блока, присоедините провода к катодам, репеллеру и линзам. Подсоединение выполняется согласно обозначениям на внутренней стороне дверцы вакуумного блока;
Закройте боковую дверцу вакуумного блока;
Установите на место левую, переднюю и верхнюю крышки, закрутите винты ключом TORX20 из комплекта ЗИП;
Включите МСД;
Задайте 350°С температуру источника ионов в "Панели управления";
Дайте источнику прогреться в течение 4 часов для удаления следов растворителя;
Задайте рабочий режим;
После выхода комплекса на готовность проведите автоматическую настройку.
5.6.3 Замена катода
Если требуемый ток эмиссии катода не устанавливается и диагностический тест катода показывает неисправность катода, то это может означать, что катод перегорел. На источнике ионов установлены два катода. Если один из катодов перегорел, используйте второй катод. Если перегорел и второй катод, замените катоды. Вы можете увеличить срок службы катода следующими способами:
Выключайте катод на время выхода пика растворителя;
Не начинайте сканирования во время выхода пика растворителя;
Выбирайте наиболее низкий ток эмиссии.
Для замены катодов источника ионов выполните следующие действия:
Выключите МСД согласно п. 4.2.1;
Снимите переднюю, верхнюю и левую крышки, открутив винты ключом TORX20 из комплекта ЗИП;
Откройте боковую дверцу вакуумного блока (п. 5.4);
Отсоедините провода от катодов;
Выкрутите винты, фиксирующие катоды, и снимите катоды;
Установите новые катоды и зафиксируйте их винтами, убедитесь, что спираль катода обращена в сторону отверстия для влета электронов на корпусе источника ионов;
Присоедините провода на дверце вакуумного блока к катодам в соответствии с маркировкой, нанесенной на боковой дверце вакуумного блока;
Закройте боковую дверцу вакуумного блока;
Установите на место левую, переднюю и верхнюю крышки;
Включите МСД;
Задайте 350°С температуру источника ионов в "Панели управления";
Дайте источнику прогреться в течение 4 часов;
Задайте рабочий режим;
После выхода комплекса на готовность проведите автоматическую настройку.
5.7 Техническое обслуживание квадрупольного масс-анализатора
Если чистка источника ионов не восстановила рабочие характеристики МСД, проведите чистку квадрупольного масс-анализатора.
Префильтр и масс-фильтр являются основным и самым дорогим аналитическим узлом МСД, поэтому с ними нужно обращаться с большой осторожностью.


Рисунок 5.9 – Снятие с боковой панели масс-фильтра: с прямым префильтром (верхний рисунок) и с S-образным префильтром (нижний рисунок)


Рисунок 5.10 – Снятие стержней префильтра с масс-фильтра: с прямым префильтром (верхний рисунок) и с S-образным префильтром (нижний рисунок)
Выполните следующие действия для очистки префильтра и масс-фильтра:
Выключите МСД согласно п. 4.2.1;
Снимите переднюю, верхнюю и левую крышки, открутив винты ключом TORX20 из комплекта ЗИП;
Откройте боковую дверцу вакуумного блока (п. 5.4);
Отсоедините провода термостата источника ионов, катодов, репеллера, линз, префильтра;
Снимите источник ионов вместе с держателем, открутив 3 винта ключом TORX20 из комплекта ЗИП хроматографа;
Открутите 4 винта крепления масс-фильтра ключом TORX20 из комплекта ЗИП и отсоедините провода масс-фильтра от боковой панели;
Снимите масс-фильтр с префильтром с боковой панели и поместите их вертикально на чистую ровную поверхность;
Выкрутите 4 винта на стержнях префильтра ключом TORX10 из комплекта ЗИП и снимите перемычки и контакты префильтра;
Снимите стержни префильтра с масс-фильтра, открутив 4 винта крепления с помощью шестигранного ключа 1.5 мм из комплекта ЗИП;
Почистите стержни префильтра согласно параграфу "Очистка металлических компонентов" п. 5.9.1;
Для очистки стержней масс-фильтра протрите их, не разбирая, ватной палочкой, смоченной в метаноле или этаноле, после чего продуйте масс-фильтр чистым сухим газом, например, азотом, при давлении 2-4 атм, или с помощью баллончика со сжатым газом для удаления пыли из оргтехники;
Установите стержни префильтра на квадруполе;
Установите перемычки и контакты префильтра;
Установите масс-фильтр и префильтр на боковую панель;
Установите источник ионов;
Подключите провода масс-фильтра и префильтра;
Закройте боковую дверцу вакуумного блока;
Установите на место левую, переднюю и верхнюю крышки. Закрутите винты ключом TORX20 из комплекта ЗИП;
Включите МСД;
Задайте рабочий режим;
Через 6 часов после включения МСД проведите автоматическую настройку.
5.8 Техническое обслуживание системы детектирования
Узел системы детектирования состоит из фильтрующей линзы, конверсионного динода и электронного умножителя. Они должны быть чистыми и свободными от пыли, поскольку даже мельчайшие количества ворсинок на электронном умножителе или на конверсионном диноде могут вызывать повышенный спектральный шум, или статический разряд, который может привести к выходу из строя высоковольтного блока питания.
Если тест шума конверсионного динода в программе "МСД-Настройка" завершается сообщением об ошибке, с указанием повышенного значения уровня шума, то необходимо провести чистку конверсионного динода. Также, чистку конверсионного динода и электронного умножителя следует проводить в случае, если вы открываете боковую дверцу вакуумного блока на длительное время, и если в окружающей среде присутствует повышенное содержание пыли. Не держите открытой боковую дверцу вакуумного блока продолжительное время, чтобы пыль или взвесь частиц из окружающей среды не попадала внутрь вакуумного блока.
Электронный умножитель имеет ограниченный срок службы и нуждается в замене, если при проведении стандартной автоматической настройки он настраивается на напряжение выше 2950 В. Если умножитель настраивается на напряжение 2700 В и выше, то нужно готовиться к замене и приобрести новый умножитель.
В МСД могут быть установлены системы детектирования с умножителями двух видов: канального типа и с дискретными динодами.

1 – винты крепления крышки системы детектирования; 2 – контакт питания умножителя;
3 – сигнальный контакт умножителя; 4 – винты крепления умножителя; 5 – контакт 214.6.614.003; 6 – умножитель; 7 – конверсионный динод
Рисунок 5.11 – Система детектирования с умножителем канального типа (крышка системы детектирования снята)
Для чистки конверсионного динода в системе детектирования с умножителем канального типа (Рисунок ) выполните следующие действия:
Выключите МСД согласно п. 4.2.1;
Снимите переднюю, верхнюю и левую крышки МСД, открутив винты ключом TORX20 из комплекта ЗИП;
Откройте боковую дверцу вакуумного блока (п. 5.4);
Снимите крышку системы детектирования, отвернув три винта (1);
Продуйте внутренние полости конверсионного динода и умножителя чистым сухим газом, например, азотом, при давлении 2-4 атм, или с помощью баллончика со сжатым газом для удаления пыли из оргтехники;
Если продувка от пыли не помогает устранить шум, то необходимо снять конверсионный динод и очистить его поверхность, обращенную к умножителю, с помощью оксида алюминия согласно п. 5.9.1.
Соберите МСД в обратной последовательности;
После выхода комплекса на готовность проведите автоматическую настройку.
Для замены умножителя канального типа (Рисунок ) выполните следующие действия:
Выключите МСД согласно п. 4.2.1;
Снимите переднюю, верхнюю и левую крышки МСД, открутив винты ключом TORX20 из комплекта ЗИП;
Откройте боковую дверцу вакуумного блока (п. 5.4);
Снимите крышку системы детектирования, отвернув три винта (1);
Отсоедините от умножителя контакт питания (2) и сигнальный контакт (3);
Открутите 2 винта (4) крепления умножителя;
Снимите контакт (5);
Извлеките умножитель (6) из корпуса;
Установите новый умножитель и соберите МСД в обратном порядке;
После выхода комплекса на готовность проведите автоматическую настройку.

1 – сигнальный контакт умножителя; 2 – умножитель
Рисунок 5.12 – Система детектирования, использующая умножитель с дискретными динодами
Для замены умножителя с дискретными динодами (Рисунок ) выполните следующие действия:
Выключите МСД согласно п. 4.2.1;
Снимите переднюю, верхнюю и левую крышки, открутив винты ключом TORX20 из комплекта ЗИП;
Откройте боковую дверцу вакуумного блока (п. 5.4);
Отключите сигнальный контакт умножителя (1);
Сдвиньте умножитель (2) в направлении, указанном стрелкой, и отсоедините контакт питания умножителя (расположен снизу умножителя, не показан на рисунке);
Установите новый умножитель и соберите МСД в обратном порядке;
После выхода комплекса на готовность проведите автоматическую настройку.
5.9 Методы очистки компонентов вакуумной камеры
5.9.1 Очистка металлических компонентов
Описанная ниже процедура очистки металлических деталей неприменима для масс-фильтра
Для чистки металлических деталей потребуются следующие чистящие средства и принадлежности:

Ватные палочки;
Глицерин;
Пудра оксида алюминия;
Посуда для смешивания;
Чистые резиновые бестальковые перчатки;
Ацетон;
Этанол;
Деионизированная дистиллированная вода;
Моющее средство (Fairy или подобные);
Газ, сухой и чистый (азот, воздух или др.);
Щетка;
Ультразвуковая ванна.
При проведении чистки:
Смешайте пудру оксида алюминия с глицерином – чтобы получилась вязкая сметанообразная субстанция;

Очистите каждую деталь при помощи ватных палочек и пудры оксида алюминия в глицерине, кроме исполнения источника ионов, металлические поверхности которого имеют специальное покрытие и отличаются радужным цветом поверхности. Для такого источника ионов используйте ватные палочки, смоченные в изопропаноле.
Загрязнения могут проявляться в виде темных или обесцвеченных пятен, но зачастую они невидимы.

Самые сильные загрязнения обычно находятся вокруг отверстий. Каждую деталь нужно тщательно чистить, даже если нет видимых загрязнений.

Тщательно убирайте загрязнения на ребрах и в углах деталей, иначе остатки загрязнений могут повлиять на качество анализа. При обнаружении трещин, царапин или сколов на деталях, деталь с дефектом следует заменить. Любые дефекты могут повлиять на работу МСД;

Особое внимание уделите внутренним поверхностям линз. Как правило, чистка необходима репеллеру, ионизационной камере и трем линзам;

Промойте детали чистой водопроводной водой. Удалите остатки алюминиевой пасты с помощью щетки под струей воды.

Не давайте пасте засохнуть на деталях, потому что, если она засохнет, то ее будет очень трудно удалить. Если после промывки детали, они выглядит загрязненной, то повторите чистку;
Очистите детали в теплом моющем растворе с помощью ультразвука:
Поместите детали пинцетом в емкость с теплым моющим раствором.
Поместите емкость вместе с ее содержимым в ультразвуковую ванну на 5 минут.
Смойте водопроводной водой остатки моющего средства с деталей;
Очистите детали в деионизированной воде с помощью ультразвука:
Поместите детали пинцетом в емкость с деионизированной водой.
Поместите емкость вместе с ее содержимым в ультразвуковую ванну на 5 минут. Если после промывки вода будет мутная, – замените ее на чистую, и повторите операцию. Повторять следует до тех пор, пока вода после промывки не будет оставаться чистой;
Очистите детали в ацетоне (спирте) с помощью ультразвука:
Поместите детали пинцетом в емкость с ацетоном (спиртом).
Поместите емкость вместе с ее содержимым в ультразвуковую ванну на 5 минут.
Продуйте детали чистым, сухим газом для удаления остатков ацетона (спирта);
Прогрейте детали в течение 15 минут при температуре 100 °С, например, в термостате ГХ.

5.9.2 Очистка компонентов из керамики

Для чистки этих компонентов нужны следующие средства и принадлежности:
Ватные палочки;
Деионизированная вода;
Моющие средства (Fairy или подобные);
Газ, сухой и чистый (азот, гелий или др.);
Чистые безворсовые перчатки, резиновые латексные или нитрильные;
Метанол (или другой похожий полярный растворитель, например этанол).
При проведении очистки:
Промойте все детали теплым моющим раствором;
Почистите детали зубной щеткой или ватной палочкой. Не замачивайте детали в моющем растворе и не используйте ультразвуковую ванну;
Используя пинцет, тщательно промойте детали от моющего средства под струей воды;
Ополосните детали деионизованной водой. Пинцетом положите детали в емкость с водой. Смените воду при помутнении. Не замачивайте и не используйте ультразвук для очистки деталей;
Ополосните детали метанолом. Пинцетом положите детали в емкость с метанолом. Смените метанол, если он помутнел. Не замачивайте и не используйте ультразвук;
Продуйте газом все детали от остатков метанола.
5.10 Очистка печатных плат и решеток вентиляторов
На источнике питания установлены два вентилятора, обеспечивающие охлаждение компонентов МСД и турбомолекулярного насоса. Загрязнение печатных плат и решеток вентиляторов препятствует охлаждению и приводит к перегреву электронных компонентов и турбомолекулярного насоса. Это может привести к выходу из строя МСД. Периодически необходимо очищать решетки вентиляторов и печатные платы от пыли. Расположение решеток вентиляторов показано на рисунке.

1 – решетка левого вентилятора, 2 – решетка правого вентилятора
Рисунок 5.13 – Расположение решеток вентиляторов
Чтобы почистить решетки вентиляторов и печатные платы:
выключите МСД;
отодвиньте МСД от ГХ, чтобы получить достаточно места справа от МСД, при необходимости отсоедините колонку от МСД;
снимите левую и правую нижнюю крышки МСД;
используя щетку и пылесос, очистите печатные платы и решетки вентиляторов от пыли и мусора;
соберите и включите МСД, проведите диагностику и настройку.
Если в МСД установлен турбомолекулярный насос FF-100/300E, то этот насос имеет собственный вентилятор охлаждения, установленный прямо перед насосом и легко доступный для чистки с помощью щетки и пылесоса.
5.11 Техническое обслуживание масляного форвакуумного насоса
Полный список процедур технического обслуживания насоса приведен в таблице:
Таблица 5.3 – Процедуры технического обслуживания
| Действие | Ежедневно | По требованию; ежегодно |
|---|---|---|
| Проверка уровня масла | Х | |
| Визуальный осмотр | + | |
| Проверка фильтрующего элемента масляного фильтра | + | |
| Замена фильтрующего элемента масляного фильтра | + | |
| Замена масла | Через каждые 3000 часов работы или ежегодно | |
| Замена масляного фильтра | + | |
| Очистка насоса и обновление уплотнений | + | |
| Очистка крышки вентилятора двигателя | + |
В зависимости от нагрузки, интервалы замены масла, периодичность осмотра, технического обслуживания и ремонта могут быть короче, чем указано в таблице.
Для получения более полной информации об устройстве насоса RV3 и порядке выполнения процедур технического обслуживания обратитесь к документу A652-01-857 "Руководство по эксплуатации. Центробежные лопастные насосы RV3, RV5, RV8 и RV12" на компакт-диске из комплекта поставки насоса.
Ниже подробно описаны наиболее часто выполняемые процедуры.
5.11.1 Проверка уровня масла в насосе
Проконтролируйте уровень масла через смотровое окно на насосе. Для нормальной работы уровень масла должен быть между верхней и нижней отметками. Если уровень масла под нижней отметкой, долейте масло, как описано в п. 5.11.2. Через смотровое окно проконтролируйте качество масла, оно должно быть прозрачным и янтарного цвета. Если масло помутнело или изменило цвет, проведите очистку масла, как описано в п. 5.11.3. Если после очистки масло не изменило свой цвет, замените его, как это описано в п. 5.11.4.
5.11.2 Доливка масла в насос
Для доливки масла в насос необходимо выполнить следующие действия:
Выключите хроматограф и МСД;
Открутите заглушку с отверстия для заливки масла;
Долейте свежее масло так, чтобы уровень масла был между двумя метками (max и min);
Закрутите заглушку отверстия для заливки масла;
Проверьте уровень масла тогда, когда насос нагреется в процессе работы.
Токсичные испарения!
Когда синтетическое масло воспламеняется или нагревается выше 300°С возникает опасность отравления.
5.11.3 Очистка масла насоса
Процедура очистки (удаления загрязнений) масла в форвакуумном насосе позволяет удалить из масла растворенные газы и жидкости с низкой температурой кипения. Очищайте масло, если оно становится мутным или изменяет цвет. Вы можете производить очистку масла насоса без прерывания работы системы. Не производите очистку масла насоса во время анализа, при включенном электронном умножителе или катоде.
Установите ручку управления газобалластным клапаном в положение "Открыто".
Оставьте ее в этом положении на 10 минут или до тех пор, пока масло не станет прозрачным.
Если масло остается по-прежнему мутным или изменившим цвет по истечении 10 минут, то замените масло.
Установите ручку управления газобалластным клапаном в положение Закрыто.
5.11.4 Замена масла насоса
Периодичность замены масла, установленная производителем насоса – через 3000 часов работы, но не реже одного раза в год. При необходимости этот срок может быть сокращен.
Для получения наилучших результатов меняйте масло, когда форвакуумный насос еще теплый после работы. Будьте осторожны, так как масло может быть очень горячим.
Для замены масла:
Выключите хроматограф и МСД;
Отсоедините кабель питания насоса от разъема Выход на задней стенке МСД;
Отсоедините шланг от насоса;
Поставьте насос на стол;
Слейте старое масло. Для этого – открутите заглушку отверстия для заливки масла. Затем открутите пробку сливного отверстия и слейте масло в подходящую емкость. Утилизируйте использованное масло. Закрутите сливную пробку;
Залейте свежее масло через открытое отверстие для заливки масла до уровня между верхней и нижней отметками. Если уровень масла над верхней отметкой, открутите сливную пробку и слейте излишки масла;
Установите заглушку отверстия для заливки масла на место. Опустите насос на пол. Присоедините трубопровод;
Подключите кабель питания насоса к разъему Выход на задней стенке МСД;
Включите МСД.
5.12 Техническое обслуживание безмасляного форвакуумного насоса
Список процедур технического обслуживания насоса приведен в таблице:
| Действие | Периодичность (в месяцах) |
Сигнал о необходимости технического обслуживания |
|---|---|---|
| Проверка и очистка кожуха вентилятора | 12 (при необходимости) | Нет |
| Замена уплотнения спирали | 30 (при необходимости) | Да |
| Замена подшипников | 60 | Да |
| Замена контроллера | 120 | Да |
| Проверка электробезопасности | 60 | Нет |
Описание сигналов индикатора и процедур технического обслуживания дано в руководстве по эксплуатации на безмасляный насос.
5.13 Техническое обслуживание турбомолекулярного насоса
5.13.1 Общие рекомендации
По возможности избегайте длительного нахождения МСД в выключенном состоянии (хранения). При необходимости длительного выключения или хранения:
для насоса серии nEXT: следует один раз в шесть месяцев запускать МСД как минимум на восемь часов, по требованию производителя данных турбомолекулярных насосов.
для насоса FF-100/300E: следует один раз в три месяца запускать МСД как минимум на восемь часов, по требованию производителя данных турбомолекулярных насосов.
Рабочая скорость вращения ротора турбомолекулярного насоса находится в диапазоне от 50000 до 90000 об/мин, в зависимости от установленной модели, поэтому своевременное и правильное техническое обслуживание насоса позволит продлить срок его эксплуатации. Кроме того, стоимость турбомолекулярного насоса может составлять до 25 % стоимости МСД и небольшие затраты на техническое обслуживание насоса позволят сберечь более значительные суммы.
5.13.2 Замена масляного картриджа и подшипника в насосах серии nEXT
В насосах Edwards nEXT240D и nEXT300D масляный картридж насоса необходимо заменить примерно через 17500 часов, а нижний подшипник примерно через 35000 часов работы. При замене масляного картриджа и подшипника руководствуйтесь сведениями, изложенными в документе "B800-00-840. Выпуск D RUS 1. Руководство по эксплуатации. Наборы инструментов для обслуживания насосов серии nEXT".В насосах Edwards nEXT85D необходимо заменить масляный картридж и подшипник примерно через 35000 часов работы. При замене руководствуйтесь сведениями, изложенными в документе "B8G2-00-840. nEXT85D Service Tool Kit".
О наступлении срока замены сигнализирует светодиод STAT или Status (Рисунок 5.14):
Если светодиод светится в течение 1 секунды с интервалом 1 секунда, то необходимо заменить масляный картридж.
Если светодиод светится в течение 3-х секунд с интервалом 1 секунда, то необходимо заменить масляный картридж и подшипник.
Если светодиод светится в течение 3-х секунд с интервалом 3 секунды, то необходимо отправить насос в сервисный центр для замены ротора или контроллера.
Если насос не требует технического обслуживания, то при полных оборотах насоса светодиод светится желтым цветом постоянно.

Рисунок 5.14 – Расположение светодиода STAT на насосах nEXT240D, nEXT300D (слева)
и Status на насосах nEXT85D, nEXT300D (справа)
Операции по замене масляного картриджа и подшипника в турбомолекулярных насосах могут быть выполнены только с помощью специальных инструментов и динамометрического ключа сервисным инженером, обученным на заводе-изготовителе МСД, или насос должен быть отправлен на завод-изготовитель МСД, в сервисный центр Edwards или KYKY.
После замены масляного картриджа и подшипника сервисный инженер должен выполнить сброс счётчиков работы турбомолекулярного насоса (только для насосов Edwards).
5.13.3 Ресурс ротора насосов серии nEXT
Средний ресурс ротора насосов серии nEXT составляет 40 000… 50 000 циклов разгона до полной скорости и полной остановки. В качестве мер предосторожности рекомендуется произвести замену ротора через 20 000 циклов, или через 10 лет использования (в зависимости от того, что наступит раньше).
Для замены ротора насос необходимо отправить производителю МСД или на завод – изготовитель насосов.
5.13.4 Замена подшипников в насосах FF-100/300E
Для замены подшипников насос необходимо отправить производителю МСД или на завод-изготовитель насосов.
5.14 Техническое обслуживание диффузионного насоса
5.14.1 Проверка рабочей жидкости насоса и переднего вентилятора
Для проверки рабочей жидкости диффузионного насоса и вентилятора:
Снимите переднюю крышку МСД;
Удостоверьтесь, что вентилятор спереди МСД (Рисунок ) исправен, не засорен и создает достаточный поток воздуха, направленный к насосу. Неисправный или засоренный вентилятор может привести к перегреву и выходу из строя диффузионного насоса;
В нижней части диффузионного насоса, спереди находится стеклянное окно с указателями уровня жидкости (Рисунок );
Если насос включен и находится в состоянии готовности, то уровень жидкости должен находиться в пределах уровней, обозначенных как "FULL HOT" (ПОЛНЫЙ, ГОРЯЧИЙ);
Если насос выключен и охлажден до комнатной температуры, то уровень жидкости должен находиться в пределах уровней, обозначенных как "FULL COLD" (ПОЛНЫЙ, ХОЛОДНЫЙ).

1 – вентилятор; 2 – стеклянное окно для контроля рабочей жидкости диффузионного насоса
Рисунок 5.15 – Вид спереди МСД с диффузионным насосом
Рабочая жидкость должна быть прозрачной, или почти прозрачной. Темная, или мутная жидкость может свидетельствовать о наличии большой течи воздуха, или о перегреве насоса, что может произойти при низком уровне жидкости в насосе. Если рабочая жидкость стала темной или мутной, замените ее. Затем проверьте МСД на наличие течей.
Рабочая жидкость должна меняться, по меньшей мере, один раз в год, а также, если уровень жидкости стал ниже отметки "FULL HOT/COLD", или если жидкость стала темной или мутной.
5.14.2 Снятие диффузионного насоса
Для снятия насоса с МСД:
Выполните процедуру остановки МСД (п. 4.2.1) и приведите МСД к атмосферному давлению;
Извлеките капиллярную колонку из переходной линии МСД и отодвиньте МСД от ГХ для того, чтобы получить доступ к правой стенке МСД;
Снимите переднюю панель МСД. Открутите два винта, удерживающих правую нижнюю крышку МСД, и снимите ее;
Снимите передний вентилятор, для чего ослабьте два винта, удерживающие вентилятор;
Отсоедините кабель от датчика форвакуума;
Снимите узел датчика форвакуума с диффузионного насоса, для этого снимите хомут KF16;
Отсоедините разъем диффузионного насоса от контроллера диффузионного насоса;
Удерживая диффузионный насос одной рукой, снимите хомут KF50;
Потяните насос вниз, чтобы отсоединить его от вакуумного блока;
Снимите резиновое уплотнение насоса и извлеките насос через проем справа МСД. Для этого, потребуется слегка наклонить насос. Не наклоняйте насос более чем на 45°;
Снимите переходник вакуумного блока с ловушкой паров рабочей жидкости внутри него.

1 – переходник вакуумного блока с ловушкой паров рабочей жидкости внутри; 2 – хомут KF50; 3 – датчик форвакуума; 4 – узел датчика форвакуума; 5 – хомут KF16; 6 – диффузионный насос; 7 – контроллер диффузионного насоса
Рисунок 5.16 – Вид справа МСД с диффузионным насосом
5.14.3 Замена рабочей жидкости диффузионного насоса
В диффузионном насосе в качестве рабочей жидкости применяется жидкость SANTOVAC 5P ULTRA или SANTOVAC 5.
Для замены рабочей жидкости выполните следующее:
Снимите насос с МСД (п. 5.14.2);
Поместите диффузионный насос с рабочей жидкостью, подлежащей замене, в термостат хроматографа и прогрейте его при температуре 60 °C в течение 15 мин. Это сделает жидкость менее вязкой;
Переверните насос и слейте рабочую жидкость в приготовленную для нее емкость;
Обратите внимание на цвет слитой жидкости. Если жидкость выглядит темной, то это может означать, что насос работал в условиях недостаточного уровня жидкости или при значительной течи воздуха. Потемневшая жидкость могла пригореть на внутренних поверхностях насоса. В таком случае, может потребоваться чистка внутренних деталей насоса. Для этого, необходимо извлечь внутренние детали насоса и промыть их и внутреннюю полость насоса в хлористом метилене;
Извлеките из переходника вакуумного блока ловушку паров рабочей жидкости и промойте ее;
Прогрейте емкость с новой рабочей жидкостью в термостате колонок хроматографа при 60 °C в течение 3 мин. Это сделает жидкость менее вязкой;
Залейте прогретую рабочую жидкость в насос через верхний фланец насоса. Объем заправки должен составлять 30 мл. Во время заливки наблюдайте за уровнем жидкости через смотровое стекло внизу насоса. Уровень жидкости должен находиться в пределах отметки "FULL COLD";
Установите насос в МСД.
5.14.4 Установка диффузионного насоса
Для установки диффузионного насоса:
Пропылесосьте передний вентилятор. Очищенный вентилятор будет лучше охлаждать насос, чем неочищенный;
Установите ловушку паров рабочей жидкости в переходник вакуумного блока. Установите переходник на вакуумном блоке;
Вставьте насос в проем справа МСД. Для этого, потребуется слегка наклонить насос. Не наклоняйте насос более чем на 45°;
Установите на верхнем фланце насоса резиновое уплотнение;
Поднимите насос к переходнику вакуумного блока и установите хомут KF50;
Подключите разъем диффузионного насоса к контроллеру диффузионного насоса. При этом кабель диффузионного насоса должен быть вставлен в отверстие в экране;
Установите на насосе узел форвакуумного датчика и закрепите его хомутом KF16. Подключите кабель форвакуумного датчика;
Закрепите передний вентилятор;
Установите боковую крышку и переднюю панель МСД. Придвиньте МСД к ГХ.
6 Возможные неисправности и рекомендации по их устранению
6.1 Общие сведения
В данной главе рассматриваются возможные неисправности МСД и методы их устранения.
МСД может сигнализировать о неисправности подачей звукового сигнала и изменением цвета светодиода на передней панели с зеленого на красный. Одновременно с этим появляется сообщение об аварии в ПО "Панель управления".
Если Вас не устраивает работа МСД, запустите диагностические тесты для определения места возникновения проблемы и поиска ее решения. Программа протестирует МСД и сообщит, какие узлы исправны, а какие – нет. Однако, проблемы с чувствительностью, обусловленные загрязнением деталей в вакуумной камере, или неправильной настройкой, с помощью ПО определить нельзя. Решение этих проблем целиком зависит от опыта оператора и степени его знания работы МСД. Если Вы не можете устранить возникшие неисправности самостоятельно, то обратитесь к производителю МСД или его представителю.
6.2 Перечень сообщений об ошибках
В таблице ниже указаны сообщения ПО "Панель управления", которые отображаются при возникновении неисправностей.
Таблица 6.1 – Сообщения при неисправностях
| Сообщение | Причины и способы устранения |
|---|---|
| Отсутствие форвакуума более 3-х мин | Сообщение возникает, если в течение 3 минут после включения МСД форвакуум не достиг 500 мТорр (для диффузионного насоса – 200 мТорр). |
| Возможные причины: | |
| Боковая дверца вакуумной камеры недостаточно прижата. | |
| Уплотнение боковой дверцы вакуумной камеры повреждено или на нем имеется загрязнение. | |
| Не закрыт вентиль напуска воздуха на передней стенке вакуумной камеры. | |
| Кольцо в вентиле напуска повреждено или на нем имеется загрязнение. | |
| Недостаточное уплотнение колонки. | |
| Колонка сломалась. | |
| Негерметичность какого-либо уплотнения вакуумной камеры: турбомолекулярного насоса, переходной линии, электрических вводов, датчика глубокого вакуума. | |
| Сломался входной штуцер переходной линии (для подключения колонки). | |
| Форвакуумный насос выключен или не подключен. | |
| Форвакуумная линия повреждена. | |
| Фланец форвакуумной линии недостаточно прижат к насосу или прижат под углом. | |
| Хомут на форвакуумной линии ослаб (необходимо подтянуть). | |
| Не подключен датчик форвакуума. | |
| Несоответствие параметров катода | Катод перегорел. Необходимо переключиться на другой катод (п.4.2.8). Для источника ионов версии STD обязательно соблюдать последовательность работы с катодами: сначала катод 1 (до его перегорания), затем катод 2. После замены всей сборки с катодами необходимо переключиться на катод 1. Для источника ионов версии ADVIS последовательность работы с катодами не имеет значения. |
| Ошибка нагрева источника ионов | Вышел из строя нагреватель или датчик температуры источника ионов. Обратитесь к п.6.7. |
| Ошибка нагрева переходной линии | Вышел из строя нагреватель или датчик температуры переходной линии. Обратитесь к п.6.7. |
| Потеря вакуума | Возможные причины: |
| Скачок форвакума. | |
|
Напряжение питания турбомолекулярного насоса +24 В вне нормы, выполните диагностику электропитания согласно п.4.2.2. | |
| Проверьте надежность подключения кабеля турбомолекулярного насоса. | |
| Перегрев турбомолекулярного насоса и автоматическое снижение его скорости вращения вплоть до полной остановки. Проверьте исправность вентиляторов охлаждения и очистите решетки вентиляторов от пыли. | |
| Турбомолекулярный насос вышел из строя, обратитесь к производителю МСД или его представителю для ремонта. |
Ниже приведены сообщения о перегреве узлов МСД. В этом случае необходимо предпринять меры по снижению температуры МСД: проверить исправность вентиляторов, чистоту вентиляционных решеток перед вентиляторами (п.5.10), температуру в помещении. Для каждого узла существует 2 уровня перегрева: предупреждение (проводить анализы не запрещено) и авария (панель управления не передаёт метод в МСД, проводить анализы больше не получится). Уровни перегрева для каждого узла приведены в таблице.
| Сообщение | Предупреждение, °С | Авария, °С |
|---|---|---|
| Перегрев контроллера ТМН | 55 | 60 |
| Перегрев двигателя ТМН | 60 | 65 |
| Перегрев контроллера вакуума | 45 | 50 |
| Перегрев контроллера МСД | 45 | 50 |
| Перегрев детектора РЧ | 60 | 65 |
| Перегрев генератора РЧ | 60 | 65 |
6.3 Неисправности подключения к ПК
Нет связи с МСД (в "Панели управления" отсутствуют параметры МСД – температуры, форвакуум и др.).
Проверьте правильность настройки соединения в соответствии с разделом 2.6 руководства пользователя "Хроматэк Аналитик" 214.00045-51И;
Некоторые антивирусные программы прерывают соединение МСД и ПК через определенные промежутки времени. Отключите антивирусные программы;
ПК не должен переходить в спящий режим, отключите этот режим в параметрах электропитания в Панели управления Windows;
Убедитесь, что МСД не занят другой программой (если МСД занят какой-либо программой, то в середине контроллера МСД горит красный светодиод "А").
Перезагрузите компьютер и МСД (переведите МСД в режим "Сервис" на 5 сек. и обратно в режим "Работа");
Убедитесь, что кабель Ethernet надежно подключен к МСД и светодиодные индикаторы передачи данных рядом с разъемом Ethernet мигают, а не погашены. При необходимости, замените кабель Ethernet (возможно, его контакты окислены или недостаточно пружинят);
Проверьте параметры соединения ТСР/IP компьютера, ГХ и МСД – все устройства должны находиться в одной подсети (например, 192.168.55….);
Замените блок питания сетевого маршрутизатора или сетевой маршрутизатор;
Используйте на ПК команду "ping" (например, для IP-адреса МСД 192.168.55.1 команда имеет вид "ping 192.168.55.1") для определения доступности МСД;
При необходимости (например, если IP-адрес МСД был утрачен), можно сбросить IP-адрес МСД в значение по умолчанию (192.168.55.3). Для сброса IP-адреса переведите МСД в режим "Сервис" переключателем на задней панели МСД. Затем нажмите кнопку через отверстие на передней панели МСД. Удерживая кнопку, сразу же (менее чем через 2 сек., иначе начнется остановка турбомолекулярного насоса) переведите МСД в режим "Работа" переключателем на задней панели МСД. После этого продолжайте удерживать кнопку в течение 2-5 сек, а затем отпустите. В результате, в МСД временно установится IP-адрес 192.168.55.3. После подключения к МСД по этому временному адресу, необходимо сменить и записать постоянный IP-адрес прибора. В противном случае при следующем включении МСД будет восстановлен прежний адрес.
6.4 Неисправности подключения к ГХ
Хроматограф не переходит в состояние Готовность, т.к. МСД не готов, хотя температуры МСД в норме.
Проверьте надежность подключения кабеля старта МС к разъему DETECTOR на ГХ и к разъему GC на МСД;
Проверьте исправность кабеля старта МС омметром;
Проверьте, передан ли метод в МСД. Если метод передан корректно, то в середине контроллера МСД мигает зеленый светодиод "С" с частотой 2 раза в сек (чаще). Если метод не передан, то светодиод "С" мигает с частотой 1 раз в 1.5 сек (реже).
6.5 Неисправности, связанные с загрязнениями
Повышенный химический шум вызывает посторонние пики на спектре и хроматограмме, которые затрудняют идентификацию вещества.
Некоторые виды химического шума трудно полностью исключить. Причиной возникновения химических шумов могут быть следующие факторы:
Загрязнения от материала септы;
Загрязнения от виалы с образцом, если виала плохо промыта от предыдущего образца;
Загрязнения на компонентах вакуумного блока МСД, внесенные при выполнении процедур обслуживания;
Загрязнения в газе-носителе;
Загрязнения в растворителях, применявшихся при чистке источника ионов, префильтра и масс-фильтра.
Для минимизации химического шума необходимо всегда использовать чистый газ-носитель, фильтры, и лайнеры, а при проведении технического обслуживания компонентов, находящихся в вакуумной камере – всегда надевать чистые бестальковые резиновые перчатки.
Посторонние спектральные пики на m/z 281, 355, 429
Выполните кондиционирование колонки, отключив ее от МСД, чтобы загрязняющие вещества из колонки не попали в вакуумную камеру МСД;
Убедитесь, что колонка не повреждена в результате воздействия кислорода. Определите источник кислорода или место негерметичности, а затем снова выполните кондиционирование колонки или замените ее;
Проверьте, не сломалась ли колонка в переходной линии. Если это так, удалите обломанную часть колонки и переустановите колонку в переходной линии.
Посторонние спектральные пики на m/z 207, 281, 355, 429
Если базовая линия содержит данные пики, то возможно, что, септа выработала свой ресурс и необходимо заменить ее. Проверьте также лайнер испарителя, нет ли в нем частиц септы. Если это так, замените лайнер или удалите частицы септы из лайнера;
Если в спектре хроматографических пиков присутствуют эти спектральные линии, замените септы виал, промойте виалы растворителем.
Посторонние спектральные пики на m/z 43, 57, 71, 85
Если эти пики присутствуют в спектрах, то вероятно, что у вас загрязнена трубка подачи газа-носителя. Замените ее или установите фильтры по газу-носителю;
Нагрейте источник ионов, по крайней мере, на 25 0С выше обычной рабочей температуры, и переходную линию до максимально возможной температуры для колонки. Поддерживайте эту температуру в течение 4 – 6 часов, затем охладите до рабочих температур. Если необходимо – повторите эту операцию.
Спектр содержит спектральные линии растворителя
Это могут быть вещества, которые остались от растворителей, применявшихся при чистке деталей МСД. Снимите компоненты, которые недавно подвергались чистке, прогрейте их в термостате хроматографа, охладите, продуйте сухим газом.
В МСД могут быть места негерметичности, через которые в вакуумную камеру проникают пары растворителя. Определите место утечки согласно 4.2.2. Настройте хроматографический метод для отделения пика растворителя от интересующей Вас области хроматограммы. Примеси могут быть внесены во время введения образца, чистки или промывки дозатора растворителем. Ниже перечислены обычно применяемые растворители, которые имеют ионы с характерным m/z:
ацетон (m/z 43, 58, 59);
гексан (m/z 41, 43, 56, 57, 58, 85, 86);
метилен хлорид (m/z 84/83);
толуол (m/z 91, 92);
трихлорэтан (m/z 151, 153);
ксилол (m/z 105, 106).
Посторонние спектральные пики, связанные с попаданием в вакуумную камеру рабочей жидкости диффузионного насоса
Характерными для рабочей жидкости диффузионного насоса являются пики со следующими m/z: 77, 94, 115, 141, 168, 170, 262, 354, 446. Возможные причины появления этих масс:
МСД длительное время находился в состоянии ожидания, во время которого пары рабочей жидкости насоса конденсировались в источнике ионов (в случае охлажденного источника ионов) и на катоде. Необходимо выполнить кондиционирование источника ионов, до тех пор, пока загрязнение не испарится;
Имеется течь в вакуумной камере или в форвакуумной линии, приводящая к противотоку паров рабочей жидкости. Необходимо проверить МСД на наличие течей и устранить их;
В результате высокой температуры воздуха в помещении или из-за неисправности вентиляторов происходит внутренний перегрев МСД, вследствие чего ловушка паров рабочей жидкости не задерживает пары рабочей жидкости. Необходимо устранить перегрев МСД и отмыть ловушку.
6.6 Неисправности линз
Если диагностический тест Линзы обнаружил проблему с напряжением на линзах, то чаще всего это свидетельствует о коротком замыкании линз в источнике ионов. Линзы могут замыкать как между собой, так и на корпус источника ионов. Наиболее распространенный случай, когда посторонние частицы вызывают замыкание Линзы 1 на корпус, т.к. расстояние между ними очень мало. В этом случае необходимо протереть Линзу 1 и отверстие источника ионов, в которое вставляется Линза 1, безворсовой тканью, смоченной в этаноле.
Другие возможные причины ошибки при выполнении диагностического теста:
выход из строя контроллера МСД. Для проверки отсоедините от контроллера разъём ХР3 и проведите тест Линзы еще раз. Если контроллер исправен, то тесты линз пройдут успешно (тест Катод при отключении ХР3 выдаст ошибку);
выход из строя плавких предохранителей 0,8 А и 315 мА.
Выполните следующие действия для замены плавких предохранителей:
Выключите МСД согласно п. 4.2.1;
Снимите переднюю, верхнюю и левую крышки, открутив винты ключом TORX20 из комплекта ЗИП;
Снимите защитное стекло, закрывающее блок с плавкими предохранителями, открутив 2 винта ключом TORX10 из комплекта ЗИП;
Извлеките нерабочий предохранитель;
Установите из комплекта ЗИП новый предохранитель соответствующего номинала;
Установите на место защитное стекло, закрутив 2 винта ключом TORX10 из комплекта ЗИП;
Установите на место левую, переднюю и верхнюю крышки, закрутите винты ключом TORX20 из комплекта ЗИП;
Включите МСД.
6.7 Неисправности, связанные с термостатами
Источник ионов и переходная линия – обогреваемые зоны в МСД. Нагреватели этих зон управляются платой контроллера МСД. В источнике питания установлены светодиодные индикаторы LINE HEAT и SOURCE HEAT, которые светятся постоянно (при выходе температуры нагревателя на заданное значение) или мигают (при поддержании заданной температуры). Если снять левую и верхнюю крышки МСД, то эти светодиоды можно увидеть через защитное стекло, закрывающее блок с плавкими предохранителями.
При возникновении проблем с термостатами источника ионов и переходной линии ПО "Панель управления" выводит соответствующее сообщение об ошибке.
Сообщение об ошибке "Ошибка нагрева источника ионов"
Выключите МСД согласно п. 4.2.1;
Откройте боковую панель вакуумного блока (п. 5.4) и измерьте сопротивление нагревателя источника ионов. Сопротивление должно быть примерно 23 Ом. Измерьте сопротивление датчика температуры, оно должно быть в промежутке от 110 до 150 Ом в зависимости от текущей температуры источника ионов. Измерьте сопротивление между любым из контактов нагревателя и корпусом, а также между любым из контактов датчика температуры и корпусом. В обоих случаях не должно быть короткого замыкания.
Сообщение об ошибке " Ошибка нагрева переходной линии"
Выключите МСД согласно п. 4.2.1;
Снимите правую и верхнюю крышки МСД и измерьте сопротивление нагревателя переходной линии. Сопротивление должно быть примерно 8 Ом. Измерьте сопротивление датчика температуры, оно должно быть в промежутке от 110 до 150 Ом в зависимости от текущей температуры переходной линии. Измерьте сопротивление между любым из контактов нагревателя и корпусом, а также между любым из контактов датчика температуры и корпусом. В обоих случаях не должно быть короткого замыкания.
Если сообщение об ошибке термостатов не выводится, но источник ионов или переходная линия не нагревается, то причиной может быть выход из строя плавкого предохранителя 4 А (нагрев переходной линии) или 2 А (нагрев источника ионов).
Выполните следующие действия для замены плавких предохранителей:
Выключите МСД согласно п. 4.2.1;
Снимите переднюю, верхнюю и левую крышки, открутив винты ключом TORX20 из комплекта ЗИП;
Снимите защитное стекло, закрывающее блок с плавкими предохранителями, открутив 2 винта открутив винты ключом TORX10 из комплекта ЗИП;
Извлеките нерабочий предохранитель;
Установите из комплекта ЗИП новый предохранитель соответствующего номинала;
Установите на место защитное стекло, закрутив 2 винта ключом TORX10 из комплекта ЗИП;
Установите на место левую, переднюю и верхнюю крышки, закрутите винты ключом TORX20 из комплекта ЗИП;
Включите МСД.
6.8 Неисправности высоковакуумных насосов
6.8.1 Неисправности турбомолекулярных насосов nEXT
При поиске неисправностей насосов Edwards nEXT240D и nEXT300D руководствуйтесь сведениями, изложенными в документах:
"B800-00-857. Issue D-1. Руководство по эксплуатации. Турбомолекулярные насосы nEXT: nEXT240, nEXT300 и nEXT400. Описание".
"B800-00-880. Issue D. Original. Instruction Manual. nEXT Turbomolecular Pumps: nEXT240, nEXT300 and nEXT400" (на английском языке).
При поиске неисправностей насосов Edwards nEXT85D руководствуйтесь сведениями, изложенными в документе "nEXT85D. Instruction Manual. Publication Number B8G0-00-880. Issue C. Original instruction" (на английском языке).
6.8.2 Неисправности турбомолекулярных насосов KYKY
На модуле управления насосом TD-300, прикрепленном к насосу справа, расположены 3 светодиода: зеленый, желтый и красный. Цвет и характер свечения светодиодов индицируют различные состояния насоса в соответствии с нижеприведенной таблицей.
| Светодиод | Свечение | Состояние насоса |
|---|---|---|
![]() |
Не светится | Нет напряжения питания насоса |
| Светится | Есть напряжение питания насоса | |
![]() |
Мигает быстро | Ротор насоса раскручивается |
| Мигает медленно | Ротор насоса останавливается | |
| Светится | Ротор насоса вращается с заданной скоростью | |
![]() |
Не светится | Модуль управления насосом работает нормально |
| Светится | Есть неисправность. Насос перестал работать или не может раскрутиться |
Цвет и характер свечения светодиодов на модуле управления можно посмотреть при снятой передней панели МСД в отражении от правой боковой стенки МСД или через отверстия вентиляции в задней панели МСД.
При поиске неисправностей насосов KYKY FF-100/300E руководствуйтесь сведениями, изложенными в документах:
"Operational Manual of KYKY Molecular Pump Used for Instrument" (на английском языке).
"TD Driver Module. Operational Manual" (на английском языке).
6.8.3 Неисправности диффузионного насоса
Диффузионный насос не включается
Удостоверьтесь в том, что форвакуумный насос исправен, форвакуумный шланг надежно присоединен к форвакуумному насосу и датчик форвакуума показывает давление ниже 200 мТорр;
Проверьте соединение кабеля диффузионного насоса с платой управления диффузионным насосом;
Проверьте, нет ли перегрева диффузионного насоса.
Диффузионный насос включается, но не создает требуемого уровня глубокого вакуума
Удостоверьтесь в том, что в вакуумной камере нет больших течей воздуха (которые могут возникнуть, например, при неполном закручивании гайки переходной линии);
Проверьте уровень рабочей жидкости в насосе. Если ее уровень ниже требуемого – промойте насос и замените жидкость;
Проверьте исправность нагревателя и термовыключателя насоса. Если они неисправны, замените их.
Диффузионный насос выключается во время работы
Проверьте показания датчика форвакуумного давления. Они постоянно должны быть ниже 200 мТорр. В противном случае, проверьте форвакуумную линию на наличие течей, и удостоверьтесь в исправности форвакуумного насоса;
Насос может выключаться в результате перегрева по причине высокой температуры окружающего воздуха в помещении. В таком случае, необходимо обеспечить более низкую температуру окружающего воздуха;
Проверьте уровень рабочей жидкости в насосе. Если ее уровень ниже требуемого – промойте насос и замените жидкость.
Диффузионный насос перегревается
Проверьте состояние вентиляторов МСД. Если они засорены – прочистите их. Удостоверьтесь, что вентиляторы исправны, и внутри МСД происходит циркуляция воздуха;
Проверьте уровень рабочей жидкости в насосе. Если ее уровень ниже требуемого – промойте насос и замените жидкость.
6.9 Нарушение линейности калибровочного графика
Признаки нарушения линейности проявляются тогда, когда график зависимости интенсивности от концентрации известного соединения неоднороден по всему диапазону концентраций или имеются отклонения от амплитуды ожидаемых пиков этого соединения. Условия эксплуатации прибора, не соответствующие требованиям п.4.1.6, могут быть причиной нелинейности. Кроме того, некоторые соединения не дают линейного отклика.
Поддерживаемый в хорошем состоянии прибор обеспечивает линейный отклик в широком диапазоне концентраций для большинства соединений.
Регулярно проводите техническое обслуживание испарителя и колонки для минимизации возможных причин нарушения линейности.
Нелинейные калибровочные графики
Используются стандартные образцы верхнего предела калибровочного графика со слишком высокой концентрацией. Уменьшите количество пробы, поступающей в колонку при помощи деления потока. Примените более низкий ток эмиссии для того, чтобы понизить чувствительность МСД;
Очистите ионизационную камеру, линзы и префильтр;
Уменьшите коэффициент усиления детектора. Запустите процедуру автоматической настройки и настройте усиление детектора;
Лайнер испарителя или капиллярная колонка загрязнены. Замените лайнер или обрежьте начальный участок капиллярной колонки;
Фаза капиллярной колонки слишком тонкая для образцов с высокой концентрацией.
6.10 Неисправности блока питания
Блок питания МСД состоит из набора отдельных модулей, вырабатывающих напряжения для питания различных узлов МСД.
Проведите диагностические тесты для определения неисправности блока питания. Чаще всего неисправности, связанные с блоком питания, выглядят как отсутствие напряжения питания того или иного узла МСД.
Перед проведением любых ремонтных работ, связанных с токопроводящими частями МСД, выключите МСД (п.4.2.1) и отключите его от сети электропитания.
МСД не включается
Не подключен кабель электропитания. Проверьте надежность его подключения;
Отсутствует напряжение в сети электропитания. Убедитесь в исправности розетки сети электропитания;
Напряжение в розетке не соответствует напряжению, требуемому для работы МСД. Убедитесь в том, что в розетке сети электропитания присутствует требуемое напряжение;
Неисправен один или несколько модулей блока питания. Обратитесь для диагностики к производителю МСД или его представителю.
МСД включается, но не выдаются требуемые напряжения.
Нет выходных напряжений ± 150В. Проверьте плавкие предохранители 0,8 А и 315 мА блока питания, они могут быть неисправны. Замените их при необходимости;
Выполните следующие действия для замены плавких предохранителей:
Выключите МСД согласно п. 4.2.1;
Снимите переднюю, верхнюю и левую крышки, открутив винты ключом TORX20 из комплекта ЗИП;
Снимите защитное стекло, закрывающее блок с плавкими предохранителями, открутив 2 винта ключом TORX10 из комплекта ЗИП;
Удалите нерабочий предохранитель;
Установите из комплекта ЗИП новый предохранитель соответствующего номинала;
Установите на место защитное стекло, закрутив 2 винта ключом TORX10 из комплекта ЗИП;
Установите на место левую, переднюю и верхнюю крышки, закрутите винты ключом TORX20 из комплекта ЗИП;
Включите МСД.
Нет выходного напряжения ± 150 В. Убедитесь в исправности платы стабилизатора в блоке питания, при необходимости замените плату;
Нет напряжения +28 В. Проверьте предохранители на генераторе РЧ, если они вышли из строя – замените их;
Нет тока в цепи с напряжением +28 В. Проверьте подключения к плате генератора РЧ, к плате управления, катушке, выводам генератора РЧ.
Ток в цепи +28 В ниже допустимого диапазона.
Возможно, плохой контакт в РЧ-цепи. Последовательно проверьте надежность контактов между платой генератора, низкочастотным фильтром, драйвером стержней, РЧ-катушкой, вводами РЧ-катушки, квадруполем и префильтром.
Ток по цепи +28 В выше допустимого диапазона.
Настройка частоты генератора РЧ не проводилась. Настройте частоту генератора РЧ, проведя автоматическую настройку;
Плата генератора РЧ перегрета. Проверьте вентиляторы на источнике питания внутри МСД, очистите их от пыли или замените при неисправности. Проверьте отверстия вентиляции в корпусе МСД и очистите их от пыли при необходимости. Убедитесь в том, что температура окружающей среды находится в рабочих пределах для МСД.
Напряжение ± 550 В находится вне пределов допустимого диапазона.
Вышел из строя предохранитель на драйвере стержней. Замените предохранитель;
Драйвер стержней отключен от напряжения +36 В. Убедитесь, что драйвер стержней подключен к источнику питания;
Драйвер стержней неисправен. Обратитесь для диагностики к производителю МСД или его представителю.
6.11 Ухудшение чувствительности
Если наблюдается снижение чувствительности МСД, то необходимо определить, произошло ли снижение чувствительности внезапно, или же оно происходило постепенно. Внезапная потеря чувствительности может быть результатом внезапного выхода из строя компонента или незамеченного изменения в аналитическом методе. Такие простые неисправности, как забитая игла шприца автодозатора или слишком низкий уровень пробы в виале могут восприниматься как неисправность МСД.
Постепенное снижение чувствительности обычно является результатом загрязнения источника ионов, линз, или префильтра, и оно может быть легко устранено путем их чистки.
Электронный умножитель влияет на чувствительность и имеет ограниченный срок службы. Регулярно проводите настройку усиления, чтобы уменьшить влияние старения умножителя на сигнал. Умножитель нуждается в замене, если он настраивается на напряжение выше 2950 В.
Другой причиной уменьшения чувствительности является неправильное обслуживание ГХ. Важно регулярно выполнять техническое обслуживание ГХ. Обратитесь к руководству по эксплуатации ГХ для получения дополнительной информации о его техническом обслуживании.
Низкая чувствительность
Основная причина ухудшения чувствительности – загрязнение источника ионов и префильтра. Признак загрязнения источника ионов версии STD: в спектре ПФТБА сначала уменьшаются и пропадают ионы с m/z 502 (участок высоких масс), затем уменьшаются и пропадают ионы с m/z 219 и 264 (участок средних масс). Все диагностические тесты при этом проходят нормально. На основе спектра ПФТБА можно принять решение о чистке источника ионов и линз. Регулярно (для источника ионов версии STD через каждые 20-30 анализов, в зависимости от чистоты пробы) проводите автоматическую настройку и проверяйте спектр ПФТБА в отчёте по настройке. На рисунке ниже приведены спектры ПФТБА из отчётов по настройке одного МСД по мере его загрязнения (над ионами подписана интенсивность в процентах):



1 – чистый источник ионов, 2 – источник ионов слабо загрязнен, 3 – источник ионов сильно загрязнен
Рисунок 6.1 – Изменение спектра ПФТБА на источнике ионов версии STD по мере загрязнения
Окисление деталей источника ионов под действием кислорода воздуха приводит к ухудшению чувствительности с такими же признаками, как и загрязнение. Поэтому не рекомендуется работать на МСД, если негерметичность превышает 5%. Проверяйте величину негерметичности в отчёте по настройке.
Другие возможные причины ухудшения чувствительности:
Для источника ионов версии STD: в процессе работы нить накала окисляется и отклоняется от отверстия для электронов, что приводит к ухудшению чувствительности. Скорость этого процесса зависит от характера проб, герметичности, условий методики. Переключитесь на другую нить накала и сравните высоты пиков с m/z 28 на нити накала 1 и нити накала 2. Они должны отличаться не более чем на 30%. Если они отличаются больше, переключитесь на нить накала, дающую большую интенсивность пика, или замените весь катод;
Температура источника ионов слишком низкая. Очистите ионизационную камеру, линзы и префильтр, поднимите температуру источника ионов. Рекомендуется задавать температуру источника ионов такую же, как температура переходной линии. Допускается задавать температуру источника ионов на 30…50 °С ниже температуры переходной линии (на температурах до 300 °С);
Установлена ионизационная камера неподходящего типа (ХИ вместо ЭИ, и наоборот);
Проверьте правильность установки ионизационной камеры – она должна быть вставлена до конца и закреплена винтом;
Имеется большая течь воздуха. Выполните диагностический тест герметичности;
Испаритель или мембрана испарителя негерметичны. Замените мембрану, проверьте на герметичность испаритель ГХ;
Колонка установлена неправильно. Проверьте правильность установки колонки в переходной линии. В некоторых случаях колонка может оказаться вставленной слишком глубоко в источник ионов. В этом случае сигнал ПФТБА становится очень низким, а настроечные графики выглядят не как обычно (например, не имеют максимума);
Плохое соединение контактов. Проверьте контакты проводов линз, масс-фильтра и префильтра, контакты системы детектирования. Проверьте омметром заземление всех корпусных деталей системы детектирования;
Нарушена настройка МСД или в методе используется неверный файл настройки. Проверьте файл настройки, проведите повторную настройку;
Слишком низкое значение тока эмиссии. Увеличьте ток эмиссии;
Засорена игла шприца для ввода пробы. Прочистите иглу или замените шприц;
Загрязнен лайнер испарителя. Очистите или замените лайнер.
Высокий шум
В электронном умножителе или на конверсионном диноде появились посторонние частицы. Продуйте умножитель и динод чистым, сухим газом (п. 5.8);
Плохой контакт в системе детектирования. Проверьте контакты питания умножителя, динода, фильтрующей линзы, а также контакт с выхода умножителя и заземление умножителя. Переустановите умножитель и проверьте его на наличие сколов.
Чувствительность снижается от анализа к анализу
Температура верхней изотермы термостата колонок недостаточна для элюирования соединений с высокой точкой кипения. Повторные вводы пробы вызывают накопление таких веществ в колонке и снижают чувствительность. Увеличьте температуру верхней изотермы или увеличьте время этой изотермы. Выполните кондиционирование колонки.
Низкая чувствительность на высоких массах
Генератор РЧ настроен неправильно (при этом диагностический тест резонансной частоты завершается ошибкой). Проведите автоматическую настройку;
Недостаточное количество ионов с высокими массами из-за слишком высокой температуры источника ионов. Понизьте температуру источника ионов, чтобы снизить уровень фрагментации исследуемой пробы;
Отсутствует напряжение на диноде 10 кВ. Проведите диагностику. Если тест детектора выполняется с ошибкой, обратитесь на предприятие-изготовитель или к его представителю для диагностики и устранения проблем.
6.12 Ухудшение стабильности
Плохая подготовка пробы, погрешности ввода пробы и отсутствие регулярного технического обслуживания ГХ и МСД могут приводить к проблемам с воспроизводимостью результатов.
В случае ухудшения стабильности результатов прибора, сначала попробуйте такие простые решения, как очистка ионизационной камеры, репеллера, линз или проверка на наличие негерметичности.
Нестабильное значение массы
Неправильная настройка шкалы масс. Проведите автоматическую настройку шкалы масс.
Сигнал нестабилен и неожиданно падает
В промывочные виалы автоматического дозатора попали кусочки септы, которые могут задерживать или изменять количество пробы в шприце;
Проблема с питанием линз или катода. Для проверки выполните диагностические тесты;
Имеется негерметичность. Найдите место утечки и устраните ее;
В электронном умножителе или на конверсионном диноде накопилась пыль. Очистите электронный умножитель и конверсионный динод чистым, сухим газом.
6.13 Затянутые хроматографические пики
Увеличьте температуру переходной линии. Она должна быть не меньше самой высокой температуры в термостате колонки ГХ;
Увеличьте температуру источника ионов;
Проверьте, как установлена колонка в переходной линии МСД и в испарителе ГХ. Если колонка установлена неверно, переустановите колонку заново, как указано в разделе "Установка колонки" п. 4.1.8.
6.14 Предохранители
Перечень предохранителей приведен в таблице.
| Устройство | Обозначение | Номинал |
|---|---|---|
| Генератор | F1 | 0.5 A |
| Генератор | F2 | 1 A |
| Драйвер стержней | F1 | 1.25 A |
| Блок питания | См. рисунок ниже | См. рисунок ниже |
Предохранители блока питания:

1 – винты; 2 – крышки предохранителей; 3 – крышка
Рисунок 6.2 Предохранители блока питания
0.8 А – вход трансформатора 150 В;
315 мА – выход трансформатора 150 В;
315 мА – выход трансформатора 150 В;
4 А – нагрев переходной линии;
2 А – нагрев источника ионов.
7 Транспортирование и хранение
Сохраняйте упаковку по крайней мере на период гарантийного срока.
Транспортирование МСД в упакованном состоянии может осуществляться на любое расстояние любым видом транспорта, кроме негерметизированных отсеков самолетов и открытых палуб водного транспорта. При транспортировании должна быть обеспечена защита транспортной тары от атмосферных осадков.
Условия транспортирования:
температура окружающей среды от минус 50 до 50 °C;
относительная влажность воздуха до 98 % при 35 °C;
наличие в воздухе пыли и паров агрессивных примесей недопустимо.
Способ укладки ящиков в транспортирующее средство должен исключить их перемещение. Во время погрузочно-разгрузочных работ ящики не должны подвергаться опрокидыванию, резким ударам и воздействию атмосферных осадков.
Прибор в упакованном состоянии должен храниться в закрытом помещении при условиях:
температура воздуха: минус 50 °C до 50 °C;
относительная влажность воздуха не более 98 % при 25 °C.
Наличие в воздухе пыли, паров кислот, щелочей и других агрессивных примесей недопустимо.
Способ укладки ящиков в транспортирующее средство должен исключить их перемещение. Штабелирование не допускается.
Распаковку прибора производить в сухих отапливаемых помещениях после суточного пребывания в них в случае, если при транспортировании или хранении окружающая температура была ниже 5 °C.










